压砖机简图

cn101575943a_一种液压高速钻机有效
图片尺寸2524x1936
液压自动压砖机(yp3500)-爱企查
图片尺寸513x800
耐火砖用液压压砖机设备的组成,优点及采购指南
图片尺寸445x355
求一张免烧砖机的cad图,定采纳,谢谢
图片尺寸1208x848
一种液压压砖机的输出装置及液压压砖机
图片尺寸443x401
一种基于伺服电机驱动的陶瓷压砖机的制作方法
图片尺寸993x1000
一种全自动压砖机制造技术
图片尺寸1000x771
液压压砖机
图片尺寸800x1217
一种液压移动型制砖机的制作方法
图片尺寸784x1000
一种摩擦压砖机的制作方法
图片尺寸441x444
液压摩擦压砖机
图片尺寸562x397
改进结构的环保砖压砖机的制作方法
图片尺寸1000x689
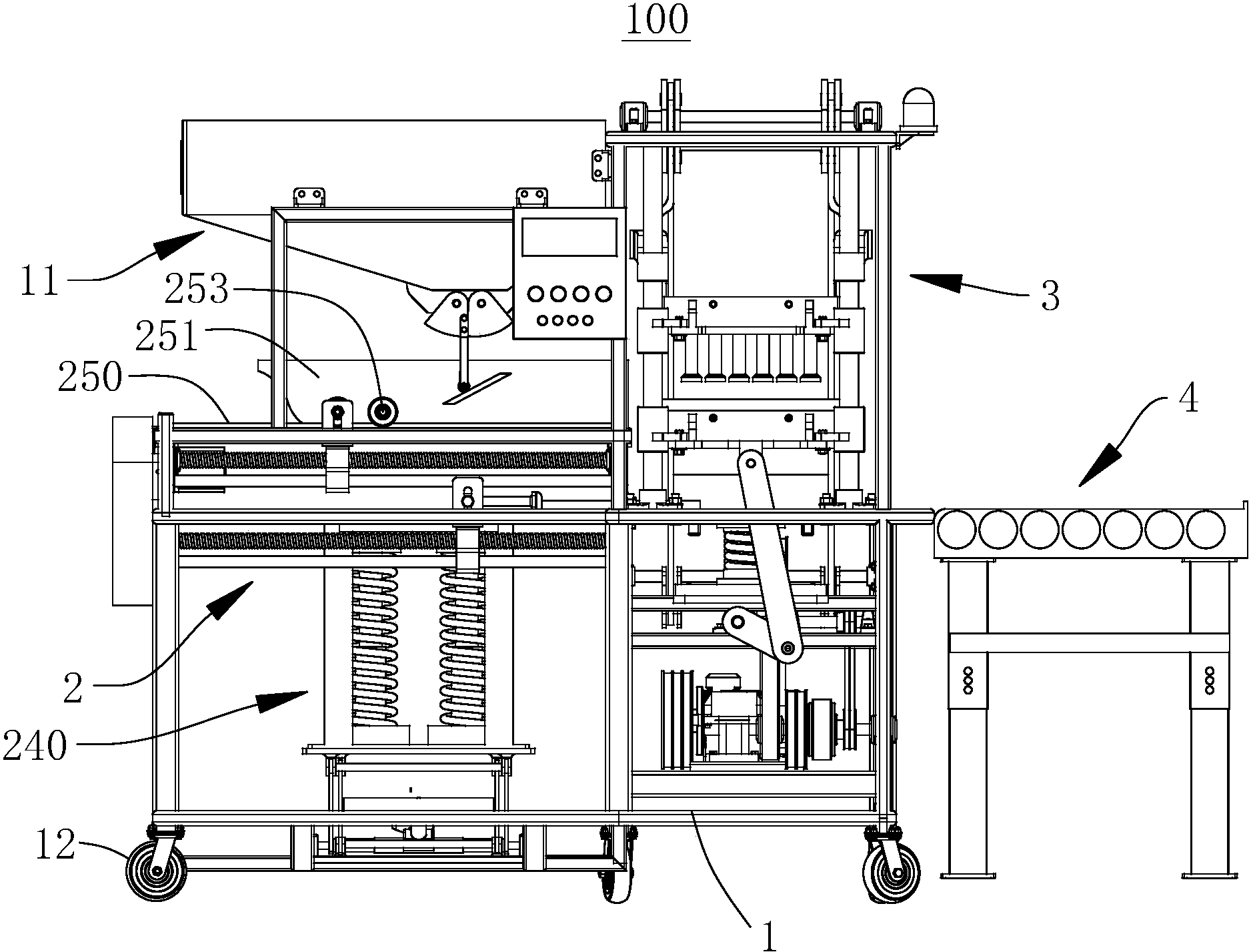
自动制砖机
图片尺寸1873x1427
yp8390型液压自动压砖机的技术特点分析
图片尺寸825x984
挤压机简笔画挤压机简笔画图片
图片尺寸557x500
cn2619768y_免烧盲孔多孔砖高效液压制砖机失效
图片尺寸535x709
挤压机简笔画挤压机简笔画图片
图片尺寸500x554
多功能成型制砖机
图片尺寸958x1127
一种带有粉料上料装置的制砖机制造方法及图纸
图片尺寸1000x968
一种冲压机
图片尺寸1819x2000