压膜机原理

cn211730568u_一种覆膜机
图片尺寸2007x1411
双工位压膜机
图片尺寸2662x1333
压膜/涂布 原理 压膜 涂布
图片尺寸1080x810
东莞自动压膜机 深圳自动压膜机
图片尺寸2480x2880
pcb高频线路板|多层板厂商自动压膜机:自动贴膜,把干膜附着在铜面上
图片尺寸1728x1080
调节覆膜机,包括安装架,开沟轮,覆土轮,放膜辊,膜平整组件和压膜机构
图片尺寸800x538
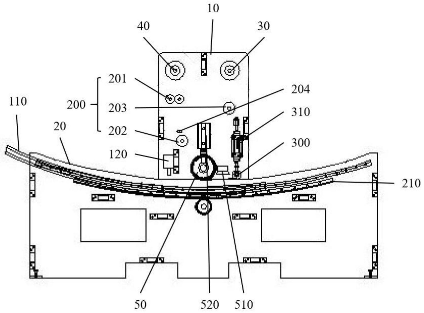
一种弧形玻璃压膜装置
图片尺寸1681x1242
cn209608965u_真空压膜机及其载膜分离装置有效
图片尺寸1000x678
hsd208贴膜机操作指导
图片尺寸413x523
医疗袋压膜机
图片尺寸505x543
冷裱机手动冷裱覆膜机压膜机1600写真覆膜机1.6米手摇式覆膜机
图片尺寸816x574
压膜机
图片尺寸800x600
压膜,覆膜机
图片尺寸820x472
a3护卡塑封文件照片相片a4压膜机6寸塑封膜塑封膜
图片尺寸800x800
迪迈斯手动冷裱广告写真kt板过膜机板材裱板机压膜机1680c加热型
图片尺寸1000x1000
压膜机三维模型
图片尺寸522x484
一种用于压膜机卷材收放料轴的涨紧机构
图片尺寸598x513
封口压膜器果汁饮品手动封口机奶茶塑封机一次性水杯打包装封盖机
图片尺寸750x1190
a3a4320过塑机铁壳塑封机照片过塑机过胶机家用办公压膜机覆膜机
图片尺寸750x972
自动压膜机
图片尺寸400x429