压花机简笔画

一种压花机
图片尺寸1386x1331
一种辊涂压花机-爱企查
图片尺寸1573x1871
一种塑料仿真藤条牵引压花机-爱企查
图片尺寸1937x1746
cn2191085y_餐巾纸压花机整体纵向侧板失效
图片尺寸2048x1800
一种金属压花机-爱企查
图片尺寸1994x1129
cn205205154u_一种数码变频压花机有效
图片尺寸1078x935
一种双头气动式高州波压花机-爱企查
图片尺寸1553x1295
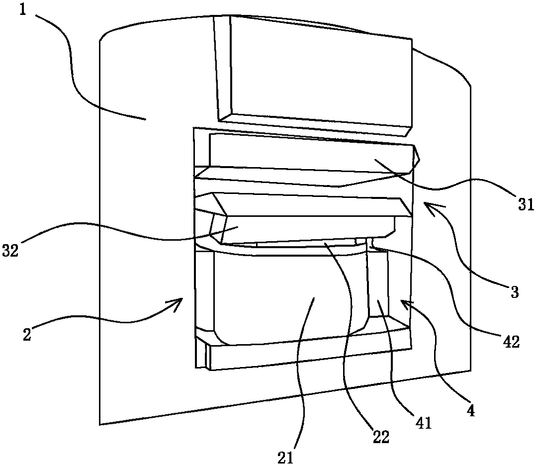
一种温度均匀的压花机的制作方法
图片尺寸1000x458
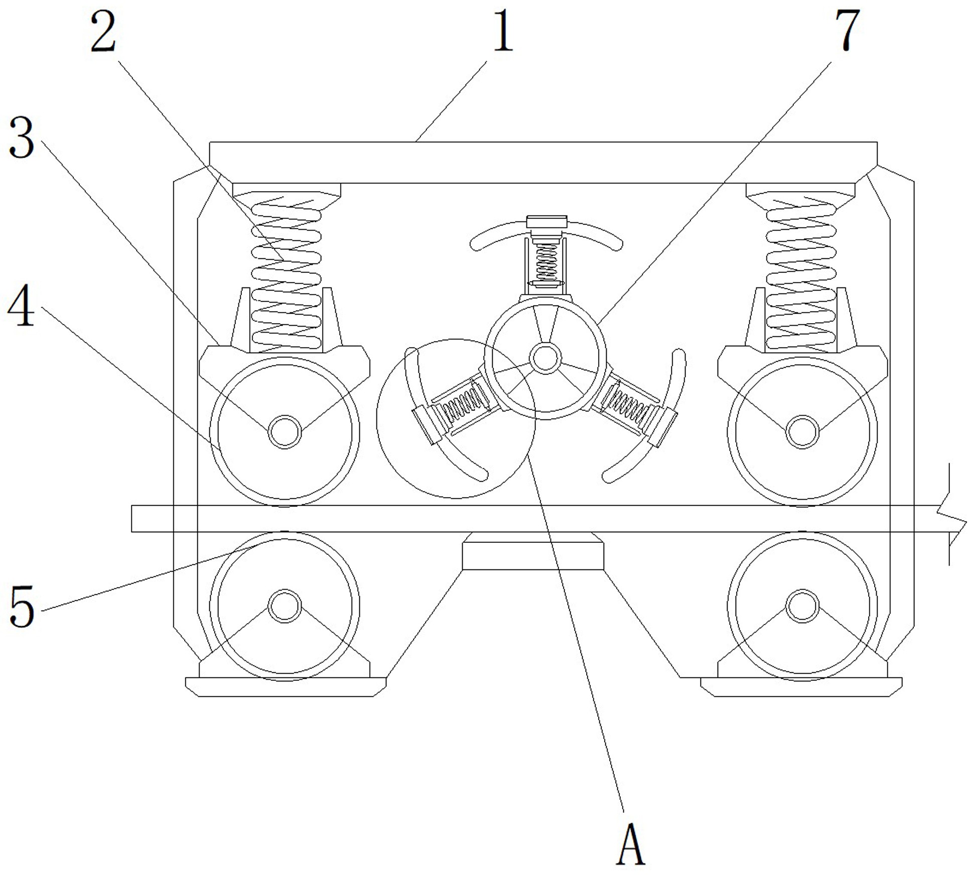
一种高效加工的金属压花机的制作方法
图片尺寸1000x841
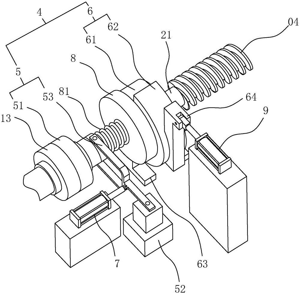
一种新型压花机的制作方法
图片尺寸1000x820
一种板式熨平压花机-爱企查
图片尺寸682x799
一种压花机的操作方法与流程
图片尺寸420x443
一种毛绒制品的自动压花机的制作方法
图片尺寸1000x999
一种高效加工的金属压花机
图片尺寸1000x979
一种压花机制造技术
图片尺寸971x1000
cn108944223a_一种具有加热功能压花机在审
图片尺寸589x536
纸制品压花机-爱企查
图片尺寸432x309
一种方便更换模具的压花机的制作方法
图片尺寸443x367
一种减小原料浪费的压花机的制作方法
图片尺寸1000x666
x - 压花机 - soopat专利搜索
图片尺寸800x1174