压铸机结构图

力劲压铸机ppt
图片尺寸1080x810
力劲压铸机精要.ppt
图片尺寸1152x864
冷室压铸机
图片尺寸1858x2036
冷式压铸机的结构组成
图片尺寸577x589
东芝压铸机液压回路ppt
图片尺寸1170x810
下面是冷式压铸机各装置的典型布局 主要有压铸机本机,给汤机,喷涂机
图片尺寸625x498
背景技术:目前,采用三板式结构的压铸机的合模机构一般包括用于固定和
图片尺寸1000x409
压铸机维护与保养(新)ppt
图片尺寸1080x810
热室压铸机的结构
图片尺寸893x658
cn201128711y_一种珠胚压铸机失效
图片尺寸2035x1935
冷室压铸机的制作方法与工艺
图片尺寸987x1000
一种框架式多工位转子压铸机
图片尺寸1997x2021
低速压铸机
图片尺寸800x1157
压铸机的构成及工作原理.jpg
图片尺寸640x485
一种无保温杯的立式压铸机
图片尺寸877x1000
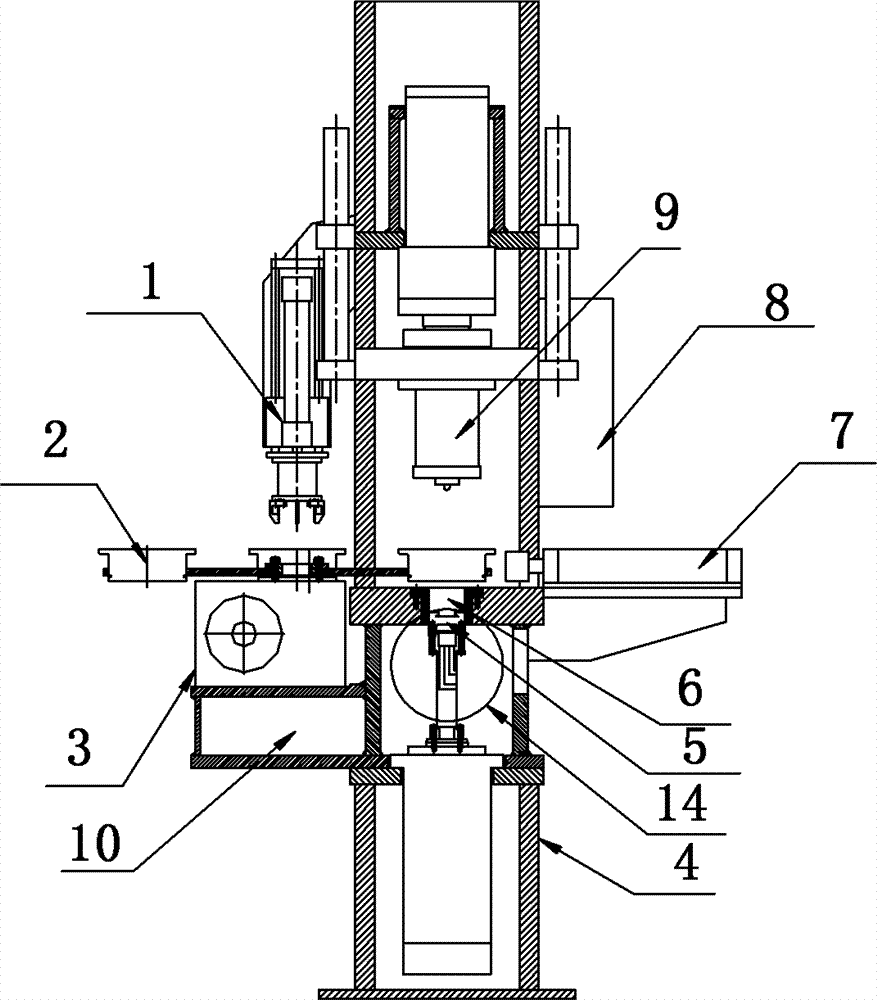
一种带自动加料装置的全立式半固态压铸机
图片尺寸1823x2079
cn205464259u_改进后的压铸机失效
图片尺寸1000x669
虽然不同型号压铸机的压射机构有所不同,但主要部件都是压射缸,压射室
图片尺寸475x344
精密冷室压铸机(标准型)
图片尺寸700x473
一种带自动加料装置的全立式半固态压铸机的制作方法
图片尺寸874x1000