压铸机维修图解

东芝压铸机液压回路ppt
图片尺寸1170x810
下面是冷式压铸机各装置的典型布局 主要有压铸机本机,给汤机,喷涂机
图片尺寸625x498
冷室压铸机
图片尺寸1858x2036
力劲压铸机ppt
图片尺寸1080x810
海天压铸机品牌运营的秘密
图片尺寸800x469
热室压铸机的结构_第1页
图片尺寸1860x2630
卧式冷室压铸机的构成
图片尺寸920x1251
压铸机参数特性和应用第二篇压铸工艺参数特性
图片尺寸800x603
热室压铸机的结构
图片尺寸893x658
cn102554628a_一种铸锻液压机及其铸锻产品的方法失效
图片尺寸1616x1894
卧式冷室压铸机的构成
图片尺寸610x370
压铸机压射运动工作原理
图片尺寸920x1301
辊压机轴承位磨损的现场修复2020新版
图片尺寸451x403
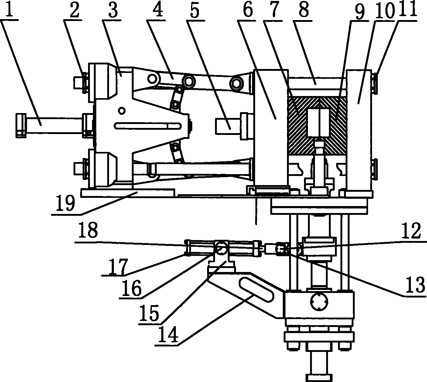
cn101642805a_压铸机失效
图片尺寸1794x1719
辊压机工作原理
图片尺寸1080x810
cn101954470a_压铸机真空压铸系统失效
图片尺寸2509x1440
第3章压铸机及压铸工艺.ppt 42页
图片尺寸1152x864
压铸机常见故障及排除
图片尺寸593x187
cn102019395a_一种卧式挤压铸造机有效
图片尺寸1406x1257
压铸机参数特性和应用第三篇几种压射增压方式的简介
图片尺寸800x563