压铸模具结构

分享一套两滑块的压铸模具图档,适合新人学习
图片尺寸752x788
压铸模具的结构组成-就上ug网
图片尺寸824x856
压铸模结构
图片尺寸1080x810
第八章 压铸模机构设计ppt
图片尺寸1080x810
压铸模的基本结构
图片尺寸860x646
汽车发电机壳铝合金压铸模具
图片尺寸820x644
压铸模具结构及设计
图片尺寸1152x1038
压铸模的结构与组成部分
图片尺寸600x476
水管子弯管接头注塑模具3d三维几何数模型stp塑料压铸法成型结构
图片尺寸784x771
关于冲压模具结构形式确定分析
图片尺寸522x496
4- 模具结构图
图片尺寸628x539
注塑模具的基本结构
图片尺寸655x988
压铸模具结构简介ppt
图片尺寸860x656
冲压模具结构是什么有哪些分类
图片尺寸527x398
压铸模的结构组成-中国压铸模具网
图片尺寸409x483
铸件拉伸模结构组成及功能作用案例精讲---青华模具学院专业提供五金
图片尺寸750x561
求模具的结构名称示意图 标示图
图片尺寸450x270
附:五金模具的基本结构图
图片尺寸1080x810
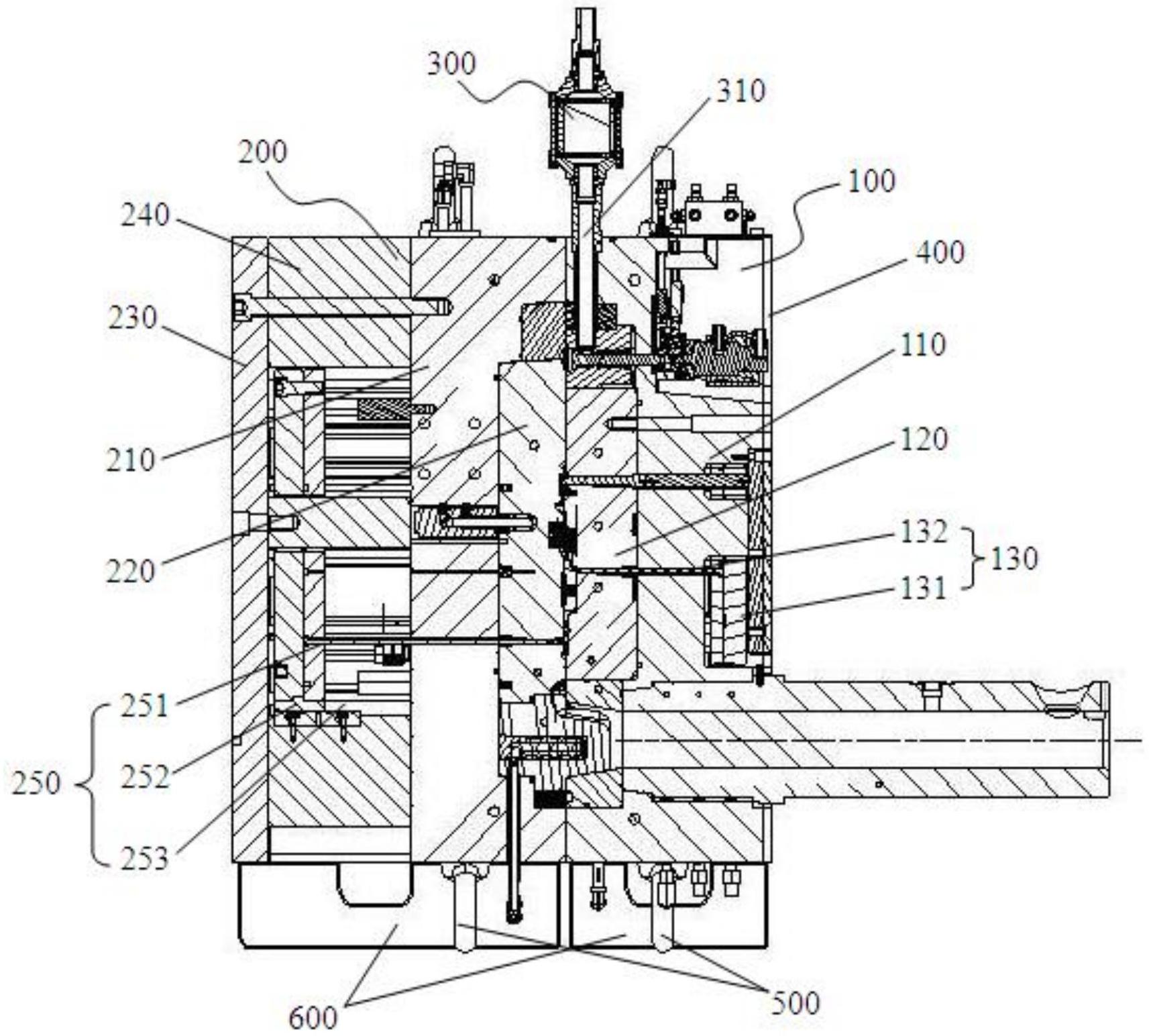
一种隔热高真空压铸模具
图片尺寸1713x1544
冲压成形模具
图片尺寸674x534