双定子电机

轮毂电机hub motor,新能源汽车下一代的革命者?(终) - 知乎
图片尺寸910x308
现在的电摩太恐怖了,一直抬头双定子电机
图片尺寸1481x926
外磁阻内永磁混合转子双定子低速电机设计
图片尺寸482x352
新能源汽车电机定子外观视觉智能检测解决方案
图片尺寸600x600
定子 ▼所有类型的电动汽车电机都由两个主要部分构成:定子和转子.
图片尺寸871x580
双定子轮边电机
图片尺寸856x968
tys系列三相双定子永磁同步电动机
图片尺寸520x390
新能源汽车驱动电机的检测(一)—电机定子
图片尺寸1183x1495
电机定子和转子(马自达转子发动机车型有哪些)-第3张图片-港口车
图片尺寸974x974
双定子电机瓦片中置72v 12寸轮毂无刷 单线 小牛 电动车中骑电机
图片尺寸1600x1600
解析电机定子检测的核心测试项目
图片尺寸660x267
学术简报双定子笼障转子无刷双馈发电机冷却空气流变特性数值分析
图片尺寸640x424
新能源电机定子检测方案
图片尺寸900x443
双速电机yd280s12630kw多速三相异步电动机卧式电机
图片尺寸800x800
电机 定转子铁芯#电机 #定子#高速电机 - 抖音
图片尺寸1440x1920
销售双速电机yd132m-42-6.58kw耕种机械
图片尺寸1080x1080
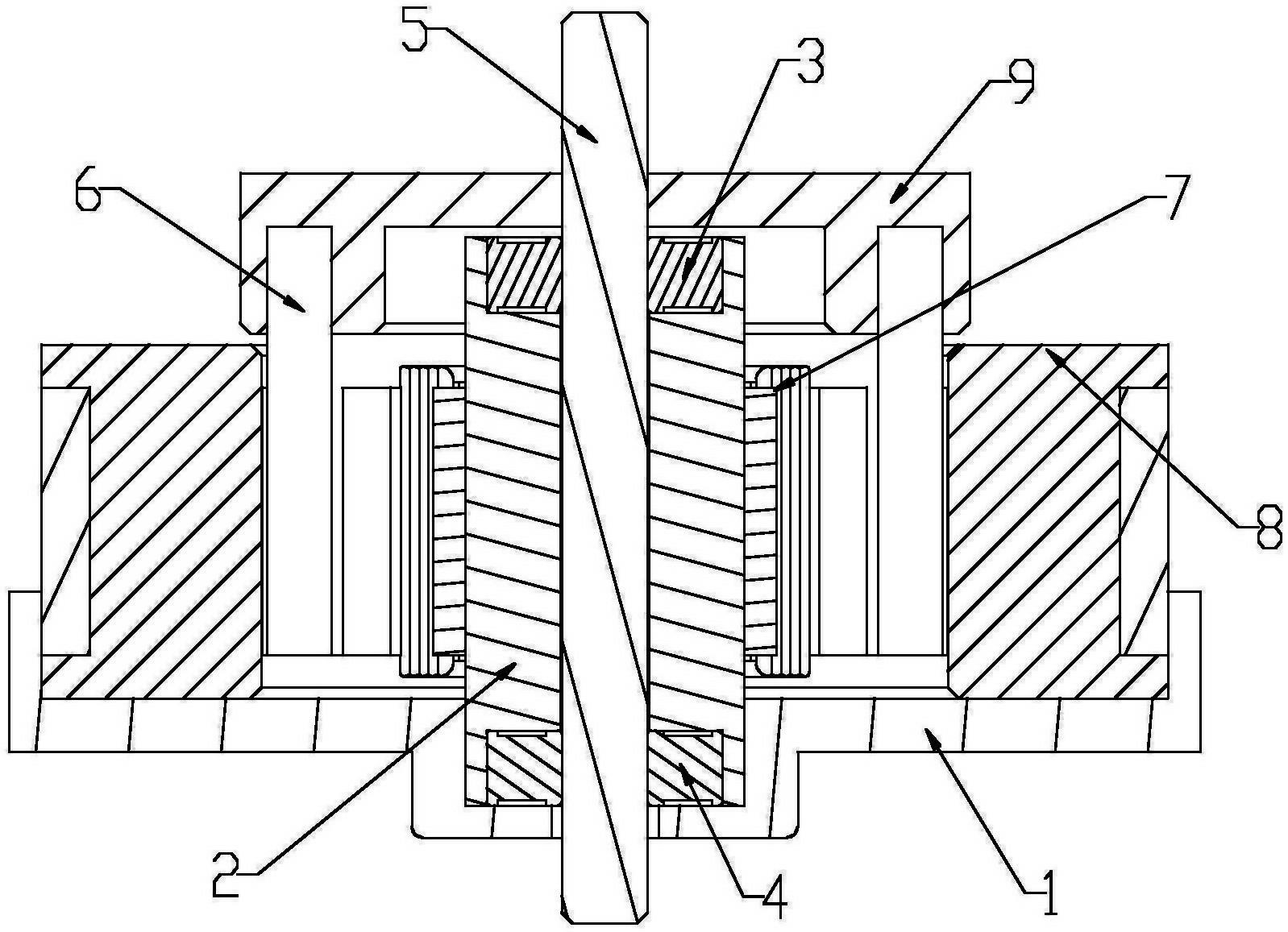
一种双定子杯式转子电机
图片尺寸640x644
不同转子极数下磁场解耦型双定子开关磁阻电机的研究
图片尺寸972x748
1,电机动力方面:我们选择电动车时,应当选择电机磁钢高,不要选择瓦数
图片尺寸640x479
双定子电机-爱企查
图片尺寸1598x1157