双排桩图片

geo5双排桩功能原理及案例分享
图片尺寸1048x673
双排桩支护
图片尺寸560x374
2区双排桩
图片尺寸508x285
双排桩顶部构造
图片尺寸499x280
1区双排桩
图片尺寸497x281
理正多种形式支护(双排桩,搅拌桩)计算书
图片尺寸655x480
2.4 双排灌注桩 一,构造
图片尺寸1080x810
适用于较浅的基坑; 锚拉式,支撑式结构:适用于较深的基坑; 双排桩:当
图片尺寸638x479
双排桩支护结构
图片尺寸600x600
图23 双排桩现场图
图片尺寸430x293
h形双排桩在某边坡中的应用
图片尺寸3200x1808
h形双排桩在某边坡中的应用
图片尺寸3200x1808
双排桩(组合式) 基坑支护尤其是深基坑支护方案的设计需要考虑的因素
图片尺寸760x255
开平卫浴城u形板桩工程双排桩施工现场大公开,快来围观一下吧!
图片尺寸600x449
开平卫浴城u形板桩工程双排桩施工现场大公开,快来围观一下吧!
图片尺寸600x800
桩板挡墙中的冠梁双排桩的连梁压顶梁分别套用什么定额合适呀重庆18
图片尺寸592x618
马郧深基坑双排桩支护结构设计计算及其工程应用
图片尺寸460x384
geo5双排桩功能原理及案例分享
图片尺寸1109x622
双排桩支护
图片尺寸909x686
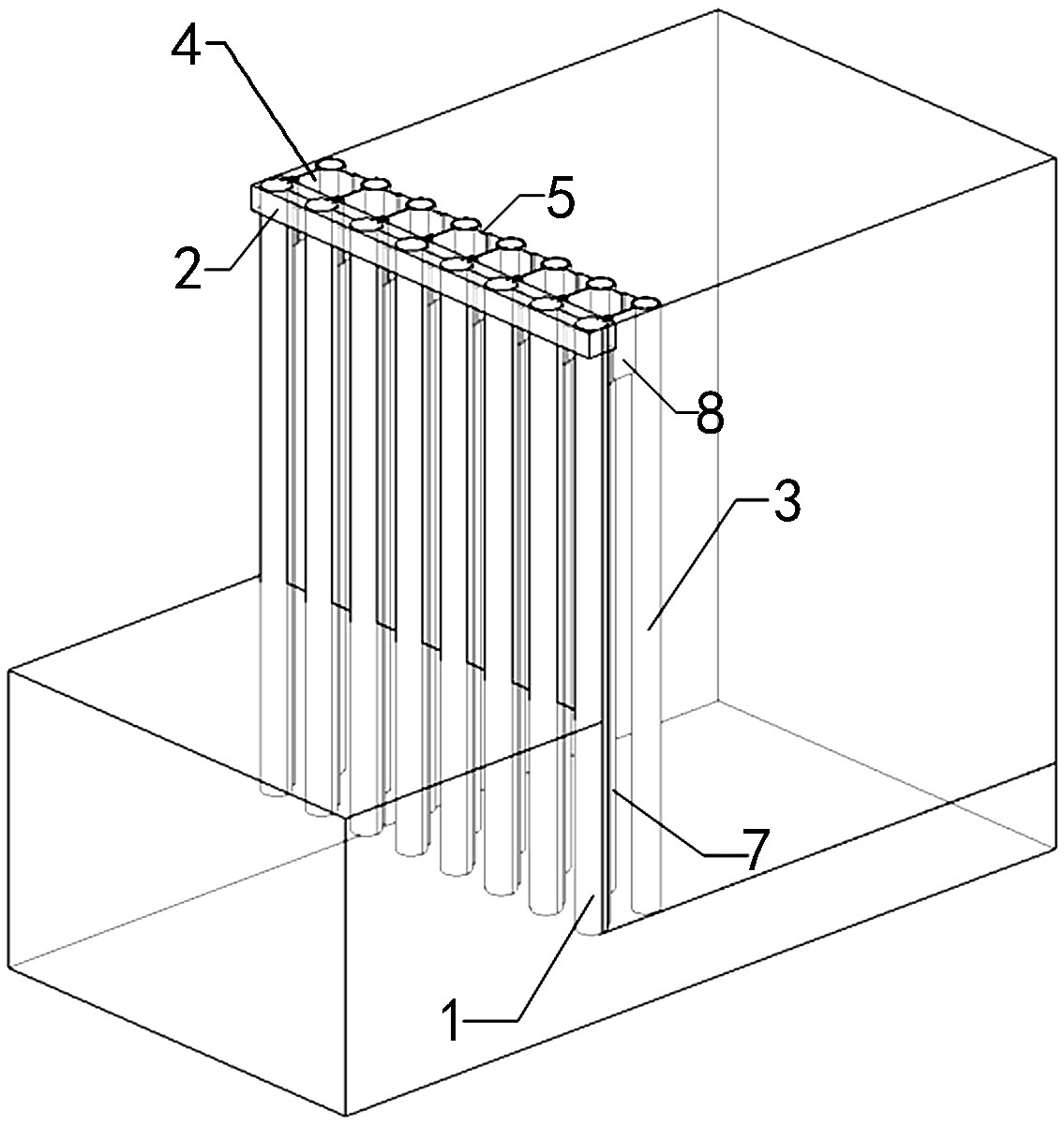
兼具止水功能的双排桩结构及其施工方法
图片尺寸1135x1200