反冲运动演示器

j2167反冲小车反冲运动演示器动力反冲教学物理力学实验器材
图片尺寸800x800
反冲运动演示器 反冲小车物理实验动力反冲反推力作用力与反作用
图片尺寸800x800
反冲运动演示器作用力与反作用力动力反冲反推力实验器材教学仪器
图片尺寸800x800
j2167反冲小车反冲运动演示器动力反冲教学物理力学实验器材
图片尺寸800x800
反冲运动演示器
图片尺寸400x267
反冲运动演示器
图片尺寸800x800
供应物理实验教学仪器反冲运动演示器使用操作说明书
图片尺寸335x456
反冲运动演示器作用力与反作用力反冲反推力实验器材教学仪器
图片尺寸800x800
j2167反冲小车反冲运动演示器动力反冲教学物理力学实验器材
图片尺寸800x800
初中物理演示实验 77 奇妙的反冲运动
图片尺寸640x490
科睿才 反冲运动演示器作用力与反作用力动力反冲反推力实验器材教学
图片尺寸800x800
反冲运动演示器 动力反冲 反推力实验器材 作用力与反作用力 教学
图片尺寸700x700
j2167反冲运动演示器 物理牛顿运动动量冲量守恒教学仪器实验器材
图片尺寸750x750
反冲运动演示器
图片尺寸240x354
二,反冲运动实验演示.
图片尺寸369x624
j04467反冲运动演示器 动力反冲 反推力 作用力与反作用力 教学
图片尺寸500x500
2015最新科学实验diy 反冲运动演示器科技小制作
图片尺寸1024x683
高二物理 反冲运动 ppt课件
图片尺寸1080x810
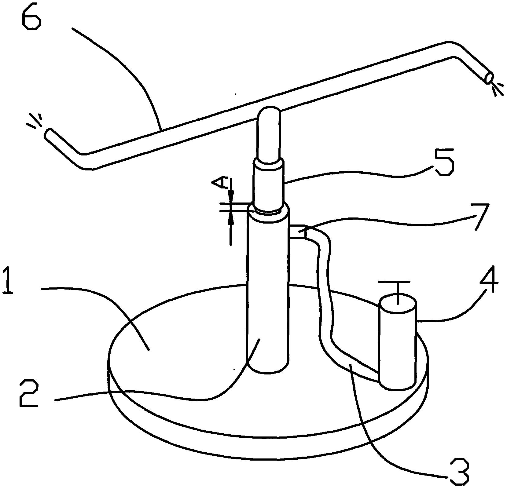
一种反冲运动演示仪
图片尺寸1000x965
一种反冲运动演示仪
图片尺寸1659x1601