反应釜设备图

不锈钢反应釜图纸 model (1)
图片尺寸1762x2493
搪玻璃开式反应釜
图片尺寸1200x1954
非标搪瓷反应釜
图片尺寸1258x1500
优质不锈钢节能反应釜,耐酸碱,乳化液反应釜厂家
图片尺寸649x427
制药工程化工设备反应釜设计
图片尺寸633x748
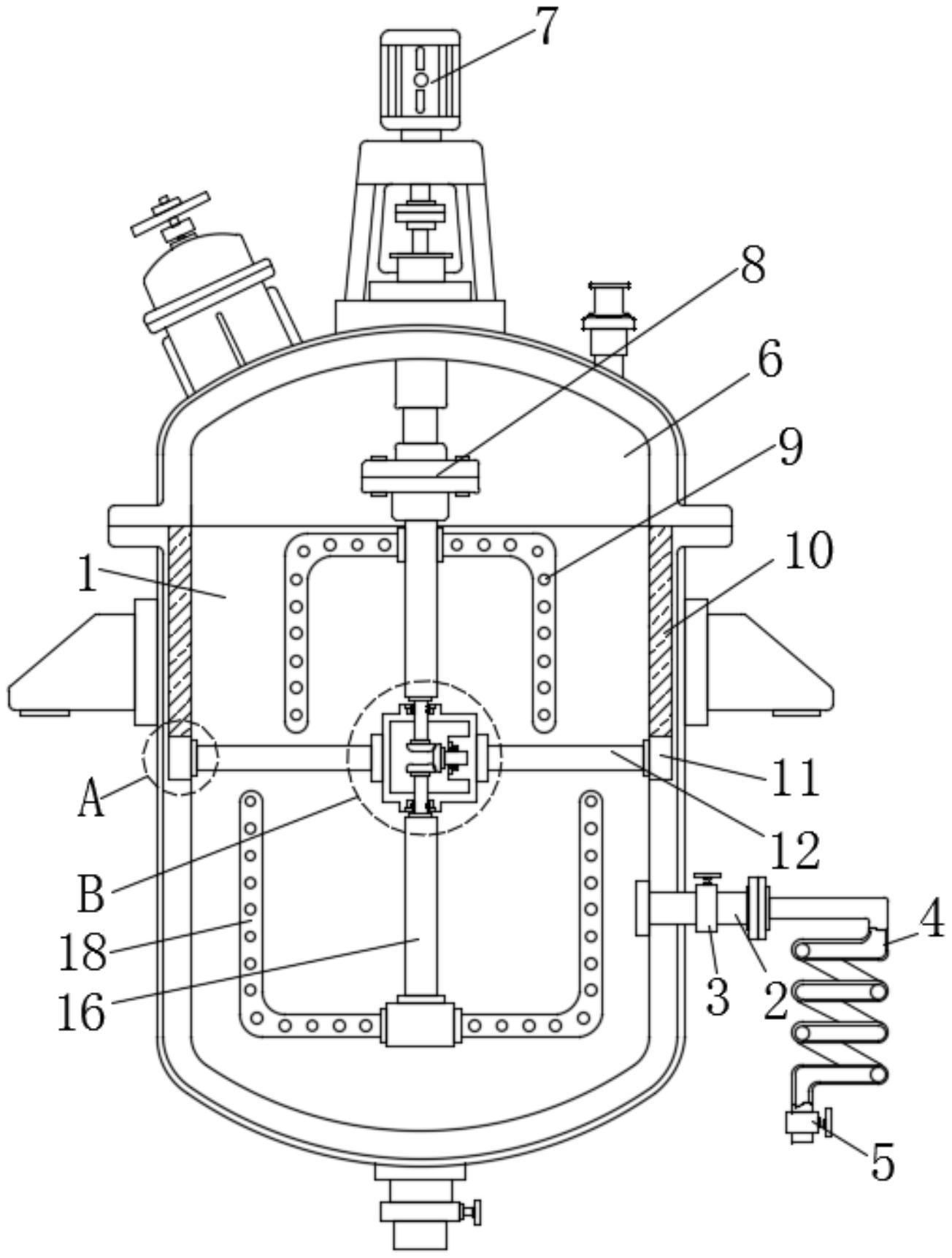
一种方便下料的高粘度物料反应釜
图片尺寸1490x2347
搪瓷反应釜解析图
图片尺寸567x628
反应釜设计图
图片尺寸693x1077
高效聚氨酯反应釜
图片尺寸1304x1723
搅拌反应釜设备条件cad图纸
图片尺寸1032x736
外盘半管加热反应釜内盘管加热反应釜
图片尺寸600x796
某工程化工反应釜设计cad全套施工图含技术要求
图片尺寸610x861
不锈钢反应釜
图片尺寸500x707
不锈钢反应釜
图片尺寸443x602
反应釜设计图纸
图片尺寸610x861
7立方反应釜图总图
图片尺寸820x1159
蒸汽加热反应釜--化工设备
图片尺寸501x606
广州电加热反应釜_报价
图片尺寸899x1200
焦作不锈钢机封半官式反应釜多少钱实力厂家
图片尺寸443x602
cn211645356u_反应釜
图片尺寸1795x2149