发射机结构

二级发动机
图片尺寸1184x884
光发射机
图片尺寸1548x795
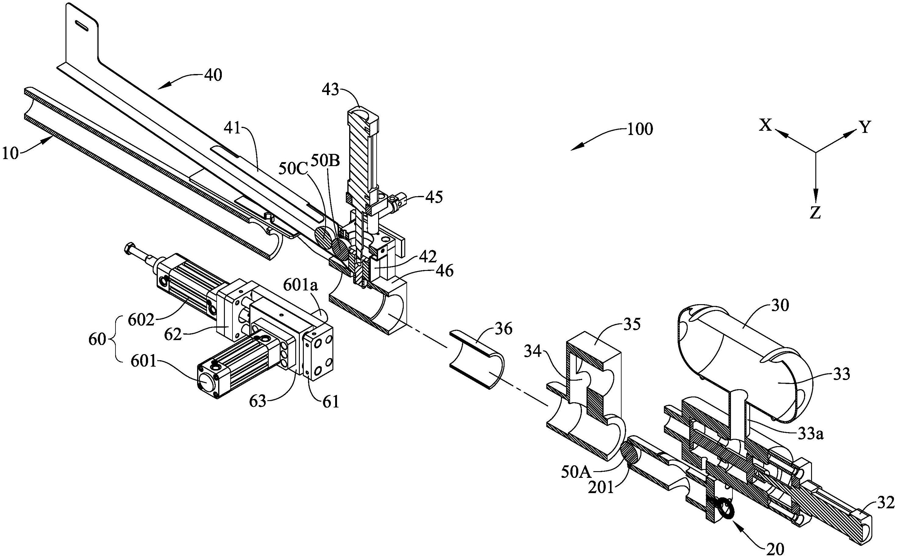
cn110279956a_高层楼宇灭火弹车载电磁弹射系统的发射机构在审
图片尺寸1000x791
图1.7 液体火箭发动机原理
图片尺寸1442x558
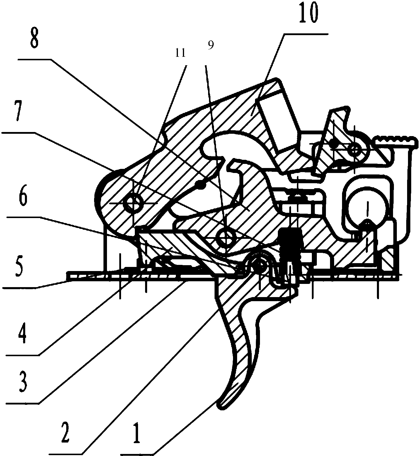
一种自动步枪的发射机构
图片尺寸1433x1558
光发射机各部分功能(结构图)
图片尺寸1276x792
雷达发射机,雷达发射机百科
图片尺寸600x330
一种光发射机
图片尺寸1785x1224
发射机
图片尺寸646x278
bgtv4152型全固态电视发射机的原理与维护
图片尺寸916x698
大功率发射机,蓝色尼龙结构,精心绘制而成,包括总装配图与全套零件图
图片尺寸820x420
cn207603647u_一种光功率可配置的光发射机有效
图片尺寸1822x735
中波广播发射机常见故障及维护
图片尺寸429x343
气动式球体发射装置
图片尺寸2944x1831
图1 遥测发射机硬件结构图
图片尺寸360x205
04式自动榴弹发射器
图片尺寸581x424
cz75的击发机构原理图
图片尺寸1200x1568
手机搜狐网
图片尺寸640x345
德国hwk 109-509型火箭发动机结构图虽然伊-29潜艇最终没有完成预定
图片尺寸560x362
cn201409135y_一种采用微波直接调制技术的星载数传发射机失效
图片尺寸1539x1047