取力器结构图

取力器培训内容ppt课件
图片尺寸920x518
cn201144730y_柴油机全功率取力器(1)失效
图片尺寸800x497
此款取力器一般安装在变速箱的右侧,内部结构如上图.
图片尺寸496x394
洒水车取力器
图片尺寸750x500
一种取力器的制作方法
图片尺寸990x1000
一种下置换挡的夹心式全功率取力器
图片尺寸1607x2332
车用双速双向取力器
图片尺寸1417x1189
带内置刹车的取力器的制作方法与工艺
图片尺寸969x1000
汽车变速箱取力器
图片尺寸1000x802
徐工重卡汉风讲坛:卡车qh50系列取力器原理及注意事项
图片尺寸600x461
一种变速箱用取力器的制作方法
图片尺寸1000x998
底置取力器总成的制作方法
图片尺寸813x1000
一种装配方便的取力器的制作方法
图片尺寸1000x659
带强制冷却系统的全功率取力器的制作方法
图片尺寸777x1000
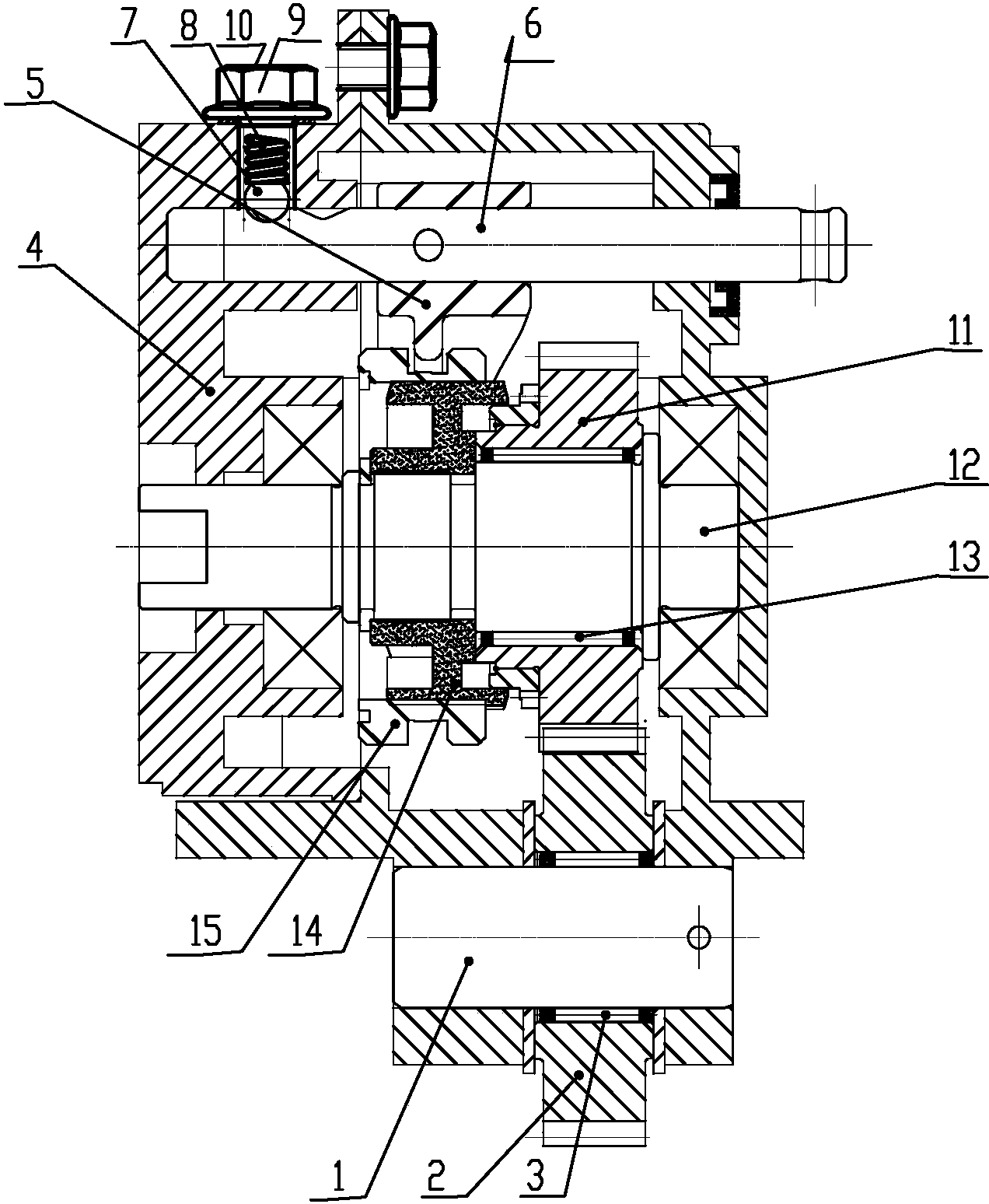
一种新型结构取力器
图片尺寸1272x1548
一种取力器
图片尺寸1000x984
它解决了现有取力器整体结构大的问题.
图片尺寸822x1000
cn206377176u_带侧置取力窗口的断轴取力器有效
图片尺寸1000x918
背景技术:传统的取力器输出结构提供花键取力和法兰盘取力,其中花键取
图片尺寸1000x843
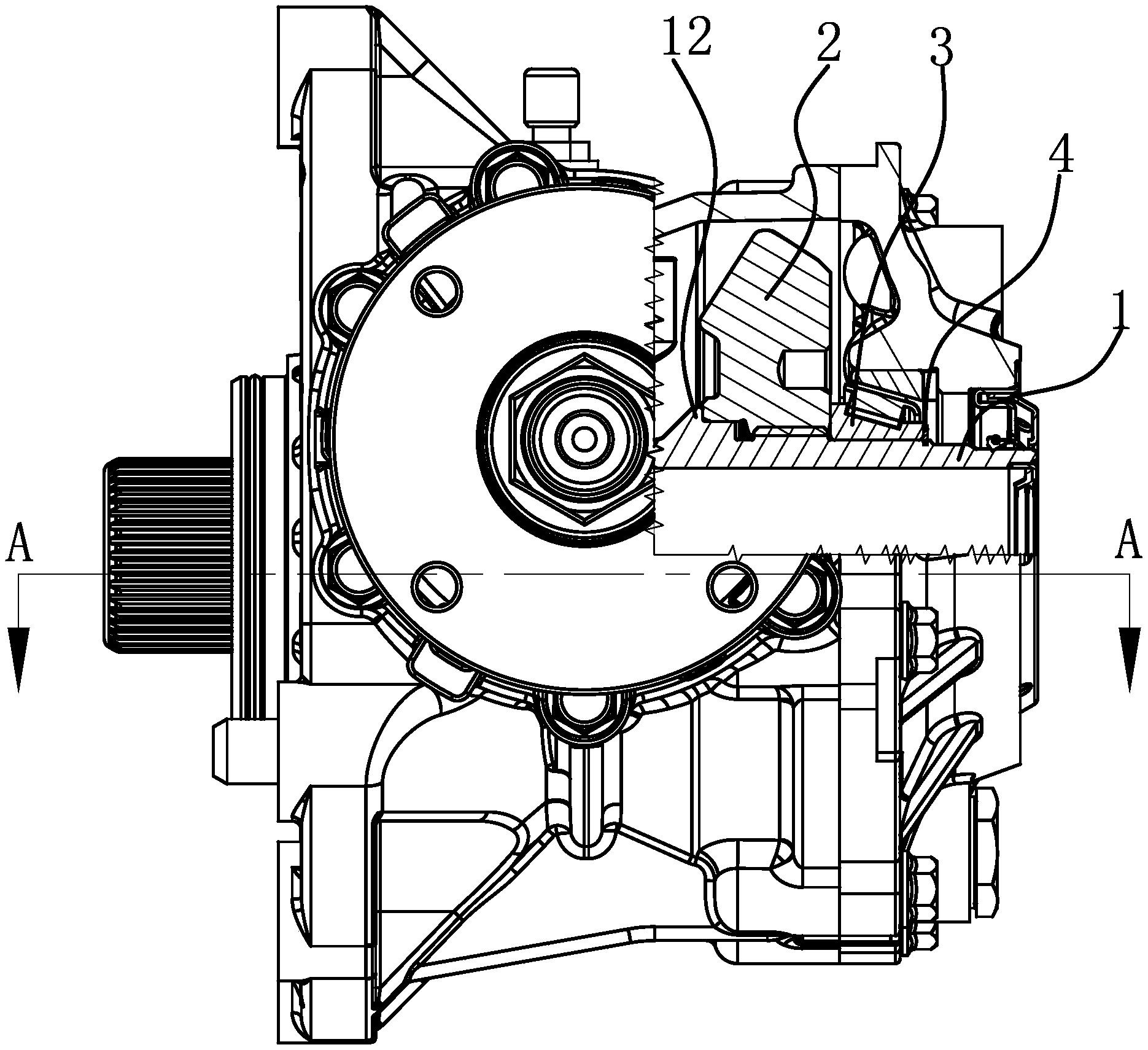
一种汽车取力器盆齿安装结构-爱企查
图片尺寸1870x1710