受液盘结构图

凹型受液盘的深度一般大于50mm,但不超过塔板间距的三分之一,否则应
图片尺寸640x473
图(a)为一种可拆式平型受液盘.
图片尺寸593x835
凹型受液盘的深度一般大于50mm,但不超过塔板间距的三分之一,否则应
图片尺寸640x607
一种高效的储罐全接液浮盘的制作方法
图片尺寸1000x401
dn1800x4250真空受液槽
图片尺寸414x785
③ 受液盘 塔板上接受液体的部分.
图片尺寸1080x810
塔盘
图片尺寸186x308
塔器设备种类及结构图文解析(中)
图片尺寸637x450
俯视图 安定区 开孔区 受 液 区 降 液 管 溢流堰
图片尺寸1080x810
某同学用弹簧测力计量筒水木块做探究漂浮在液面上的物体所受浮力与
图片尺寸254x198
板式塔与填料塔ppt
图片尺寸1080x810
分离筛选设备的制造及其应用技术
图片尺寸780x1000
直径较大,便于制造,安装,检修,通过人孔送入塔内,焊于塔体内壁塔盘
图片尺寸640x541
计为float-11浮球液位计整体结构图
图片尺寸275x322
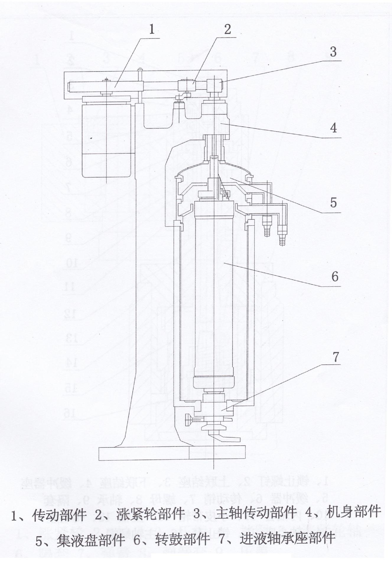
产品结构组成: 设备参数: 根据 产品材质 不
图片尺寸1327x1920
(培训)化工-塔设备
图片尺寸1080x810
由于缸体始终受液压
图片尺寸1025x769
它主要由圆柱形壳体,塔板,溢流堰,降液管及受液盘等部件构成
图片尺寸547x399
螺栓受力变形线图.jpg
图片尺寸713x302
由于缸体始终受液压
图片尺寸1025x769