叠螺机 图纸

叠螺脱水机:环保新选择!
图片尺寸1000x560
一图看懂叠螺式污泥脱水机:从浓缩到脱水的全流程拆解
图片尺寸1548x899
叠螺机原理工作运行流程及各部位名称
图片尺寸700x989
天尼威 叠螺机工作原理 叠螺式污泥脱水机构造
图片尺寸668x375
叠螺机
图片尺寸680x950
叠螺式污泥脱水机工作原理
图片尺寸394x288
污泥干度可调叠螺式污泥脱水机
图片尺寸2032x1488
污泥低温干化前端设备丨什么是叠螺机?
图片尺寸750x560
叠螺式脱水机在电厂污泥处理中的应用案例
图片尺寸1080x673
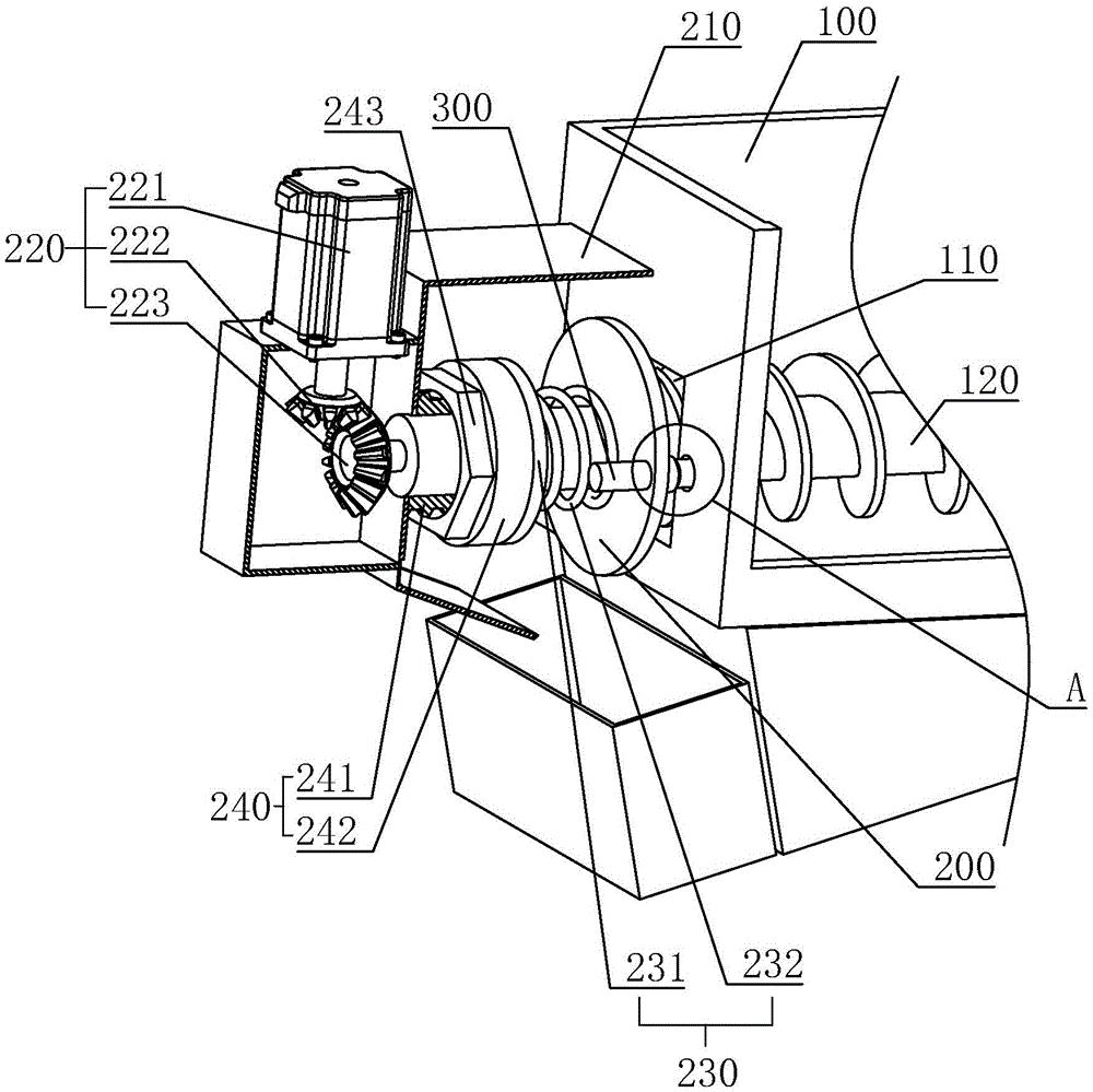
一种叠螺式污泥脱水机背压装置
图片尺寸1000x999
叠罗机叠螺式污泥脱水机301叠螺脱水机总装图纸cad
图片尺寸800x800
叠螺机工作原理
图片尺寸1440x1080
301叠螺脱水机图纸总装图
图片尺寸820x591
dl系列叠螺机cad图纸电子版飍譶
图片尺寸800x800
租赁401,402,403,404型叠螺式污泥脱水机 不锈钢叠螺机 库存充足
图片尺寸700x621
叠螺污泥脱水机三维建模==1055665=600
图片尺寸1355x896
叠螺机的型号怎么定
图片尺寸966x392
双槽叠螺式污泥脱水机
图片尺寸2460x1721
叠螺式污泥脱水机
图片尺寸769x440
75kw叠螺式污泥脱水机总图设计
图片尺寸623x410