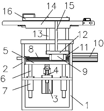
口红升降原理

两种唇膏或口红的升降机构
图片尺寸864x486
唇膏(口红)的升降结构
图片尺寸998x555
收纳盒 #口红收纳盒 #口红收纳盒好物 #口红格收纳 #跟着买
图片尺寸1080x1439
方法:银镯子摩擦卫生纸上的口红96原理:银子遇铅发黑结论:自己看
图片尺寸1080x1439
5月17日【蜜蜂欢乐社】下午场优先链接整合版
图片尺寸800x800
活动现场,培训老师讲解了口红的制作原理和色彩搭配原则,手把手带领
图片尺寸1080x718
本着好奇来了一支所以,口红什·么的,还是看颜值吧芭比色其实也没那么
图片尺寸1080x1439
千元内搞定2k 180hz hdr400显示器:hkc猎鹰Ⅱ代g27h2评测
图片尺寸1841x1229
实测过才敢推荐的618家电清单!
图片尺寸1327x1189
化妆品收纳盒升降防尘化妆刷收纳筒梳妆台桌面笔桶口红整理置物架
图片尺寸800x800
化妆品收纳盒升降防尘化妆刷收纳筒梳妆台桌面笔桶口红整理置物架
图片尺寸800x800
这个口红收纳盒有意思按压升降拿取方便
图片尺寸1080x1440
而是介绍唇膏还有口红的一种升降结构,这种升降结构的基本原理是通过
图片尺寸544x600
不知道是什么原理,太神奇了!#口红
图片尺寸1080x1439
背景技术:在现有技术中,常规的口红管是将膏体设置于升降的托座中,而
图片尺寸728x1000
摘要本实用新型涉及一种钻石面口红容器,包括底座,肩套,上盖,升降机构
图片尺寸302x447
式口红容器,包括含铝的金属或合金制成的以下部件底座,升降组件及盖体
图片尺寸1105x1567
口红是哪种虫子做的,口红是虫子做的吗的短视频
图片尺寸1728x1080
这个口红收纳盒有点意思不仅能升降还防尘
图片尺寸720x960
一种口红灌装模具移动装置-爱企查
图片尺寸423x449