口袋结构图

设计干货各种口袋款式图画法
图片尺寸1080x1437
口袋款式图结构图
图片尺寸400x439
具体是一种服装中的防盗口袋,所述防盗口袋的防盗结构设置于口袋的袋
图片尺寸1534x1632
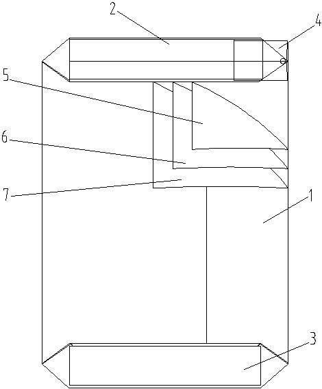
易拆阀口袋的制作方法
图片尺寸898x1000
不一样的束口袋
图片尺寸1080x1439
口袋款式图结构图
图片尺寸400x459
口袋款式图结构图
图片尺寸400x448
口袋款式图结构图
图片尺寸400x291
口袋款式图结构图
图片尺寸400x446
口袋款式图结构图
图片尺寸400x392
口袋款式图结构图
图片尺寸400x425
cn101756403a_衣服的口袋失效
图片尺寸1728x1632
服饰口袋结构的制作方法
图片尺寸475x595
口袋结构图款式图赞评论更多所有评论你也来说些什么吧
图片尺寸1000x481
外部口袋款式千奇百怪
图片尺寸400x450
200服装口袋设计模板线稿口袋款式图
图片尺寸650x411
阀口袋包装机采用计量装置,称量准确,操作简单袋体全部密封,结构合理
图片尺寸600x676
cn105691851b_一种具有自动开口功能的阀口袋有效
图片尺寸470x568
服装部位结构术语口袋与小部件篇
图片尺寸1080x1439
甘肃瓷砖胶开口袋厂家/甘肃瓷砖胶开口袋厂价直销
图片尺寸607x673