可拆卸结构

一种高效消毒杀菌除臭箱包可拆卸结构
图片尺寸1828x1245
可拆卸快装水表的电机安装结构
图片尺寸1932x1453
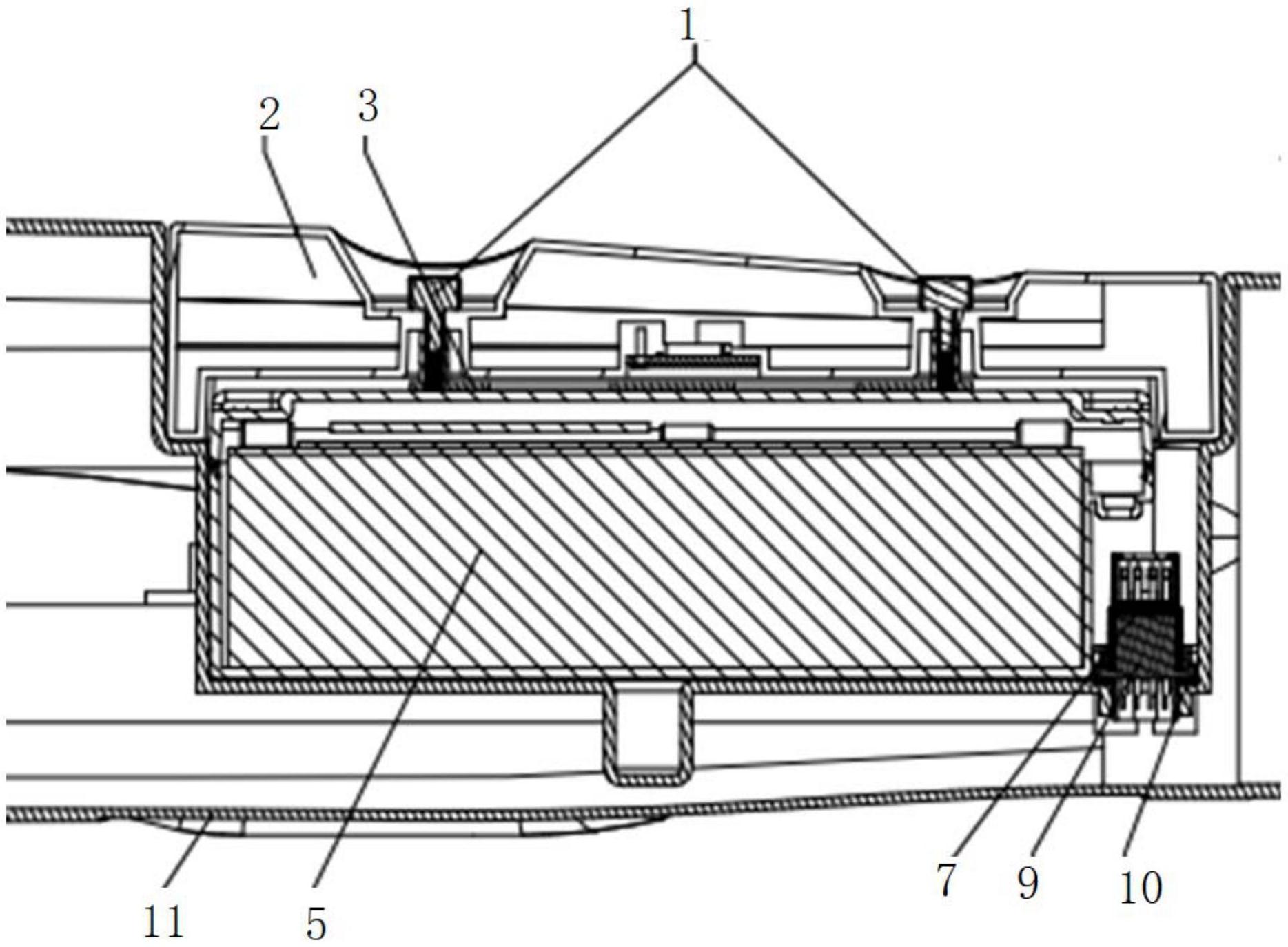
cn213584042u_一种可无损拆卸的锂离子电池结构有效
图片尺寸1877x1201
一种可快速拆卸结构的制作方法
图片尺寸945x1000
cn108278259a_一种可反复拆卸的安装结构在审
图片尺寸1757x1000
一种智能遥控救生艇可拆卸电池结构
图片尺寸1869x1375
cn102345814a_简易型可拆卸式照明结构及照明灯管失效
图片尺寸2425x1773
人体解剖模型器官可拆卸医学教学心脏内脏模型玩具躯干结构图 28cm无
图片尺寸800x800
求助大神们 设计一个旋转可拆卸的结构
图片尺寸586x572
一种可拆卸铁路平交道口板支撑结构
图片尺寸545x285
一种可拆卸式子母卡扣结构
图片尺寸918x1000
可拆卸长柄结构夹子
图片尺寸634x574
cn201827786u_可拆卸式灯具结构失效
图片尺寸1846x1580
一种可快速拆卸的汽车座椅结构的制作方法
图片尺寸966x1000
这样的可拆卸鸭翼结构怎么设计比较好
图片尺寸997x597
鹅颈与车架连接处结构
图片尺寸665x580
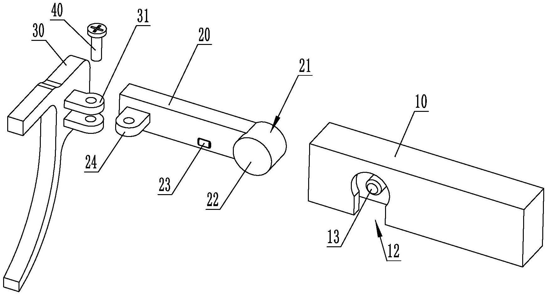
cn212647190u_一种可拆卸结构及眼镜有效
图片尺寸1743x939
一种投影仪可拆卸安装结构的制作方法
图片尺寸1000x809
一种电煮锅把手的可拆卸结构的制作方法
图片尺寸444x339
一种智能扫地机的可拆卸滚刷结构-爱企查
图片尺寸1637x1263