可拆卸连接结构

可拆卸连接件的装配
图片尺寸448x451
一种适于消防管道的可拆卸连接结构的制作方法
图片尺寸443x344
一种可快速拆装的连接结构
图片尺寸1278x1166
呼啦圈的可拆卸连接结构的制作方法
图片尺寸443x319
一种预制模块可拆卸连接结构的制作方法
图片尺寸298x444
一种可防误拆的螺栓连接结构-爱企查
图片尺寸798x800
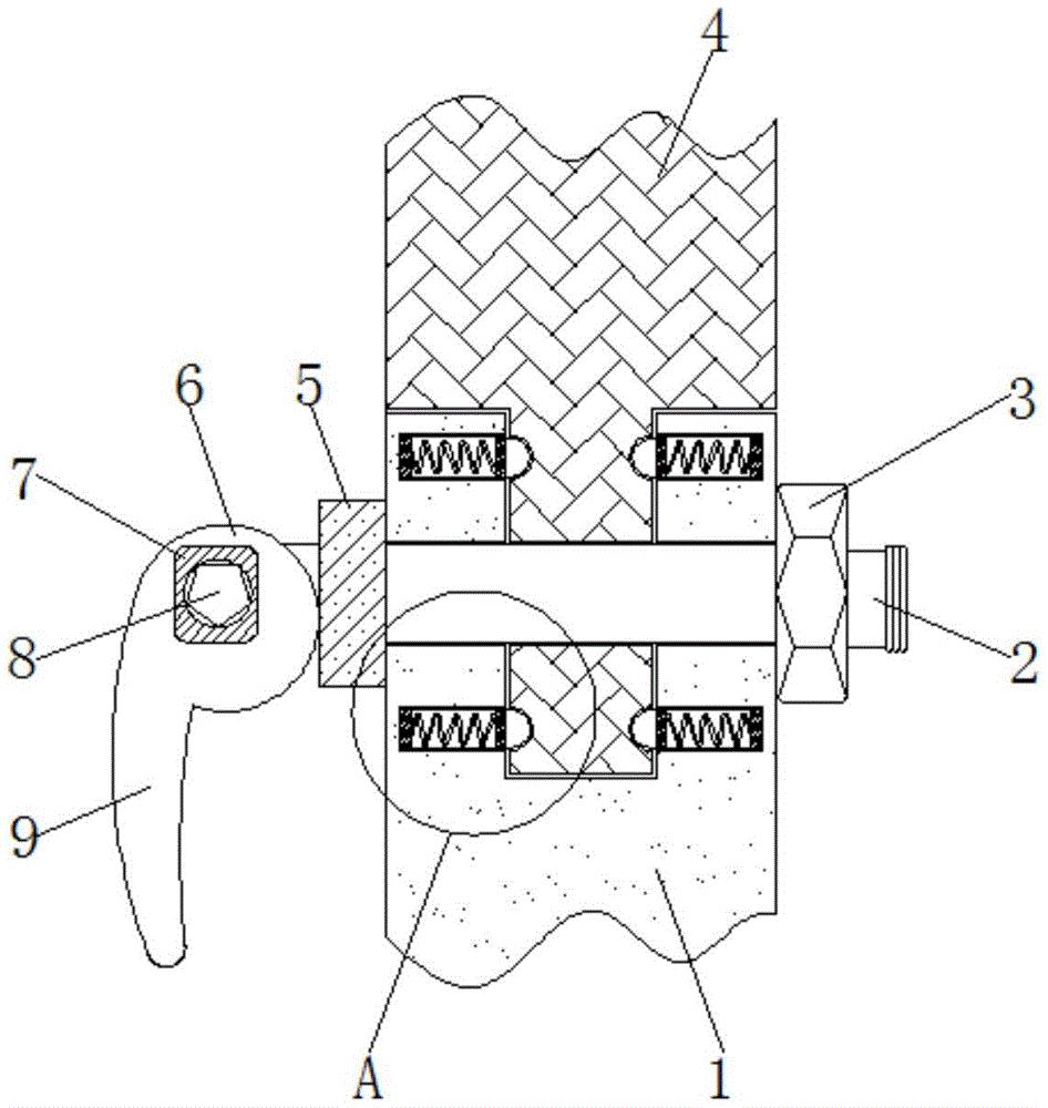
一种用于把手和锅体的可拆卸连接结构
图片尺寸1000x890
一种烟机挡油板可拆卸连接结构
图片尺寸443x418
一种镜腿的可拆卸连接结构的制作方法
图片尺寸444x377
一种玩具包装组合盒的可拆式连接结构的制作方法
图片尺寸443x431
cn112808919a_一种快速连接拆卸方法及快速连接装置在审
图片尺寸378x452
一种集成可拆式地板连接结构的制作方法
图片尺寸443x233
一种可快速安装拆卸的连接机构制造技术
图片尺寸562x424
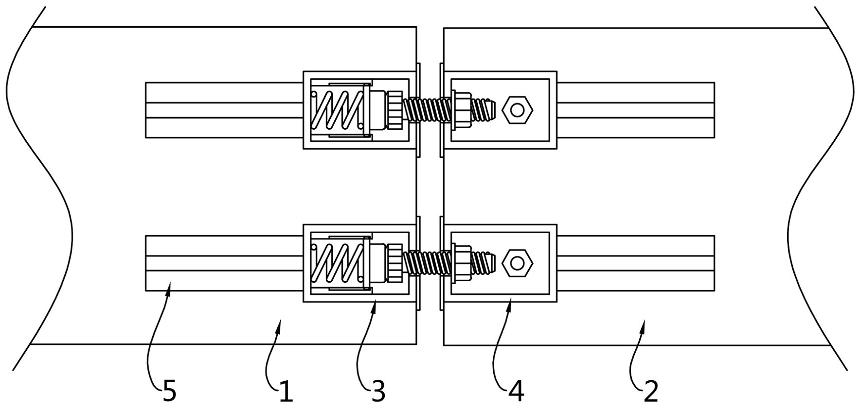
一种适用于装配式水泥混凝土板的可拆卸螺栓连接件
图片尺寸1770x840
可拆卸连接件的装配
图片尺寸525x453
一种可拆卸的木屋连接件
图片尺寸946x1000
一种可拆卸垫块加强高强螺栓剪力连接件
图片尺寸750x413
一种抗滑移型可拆卸式不锈钢栓钉抗剪连接件
图片尺寸380x443
一种新型可拆式合页
图片尺寸1901x1208
一种适用于装配式水泥混凝土板的可拆卸螺栓连接件的制作方法
图片尺寸1000x474