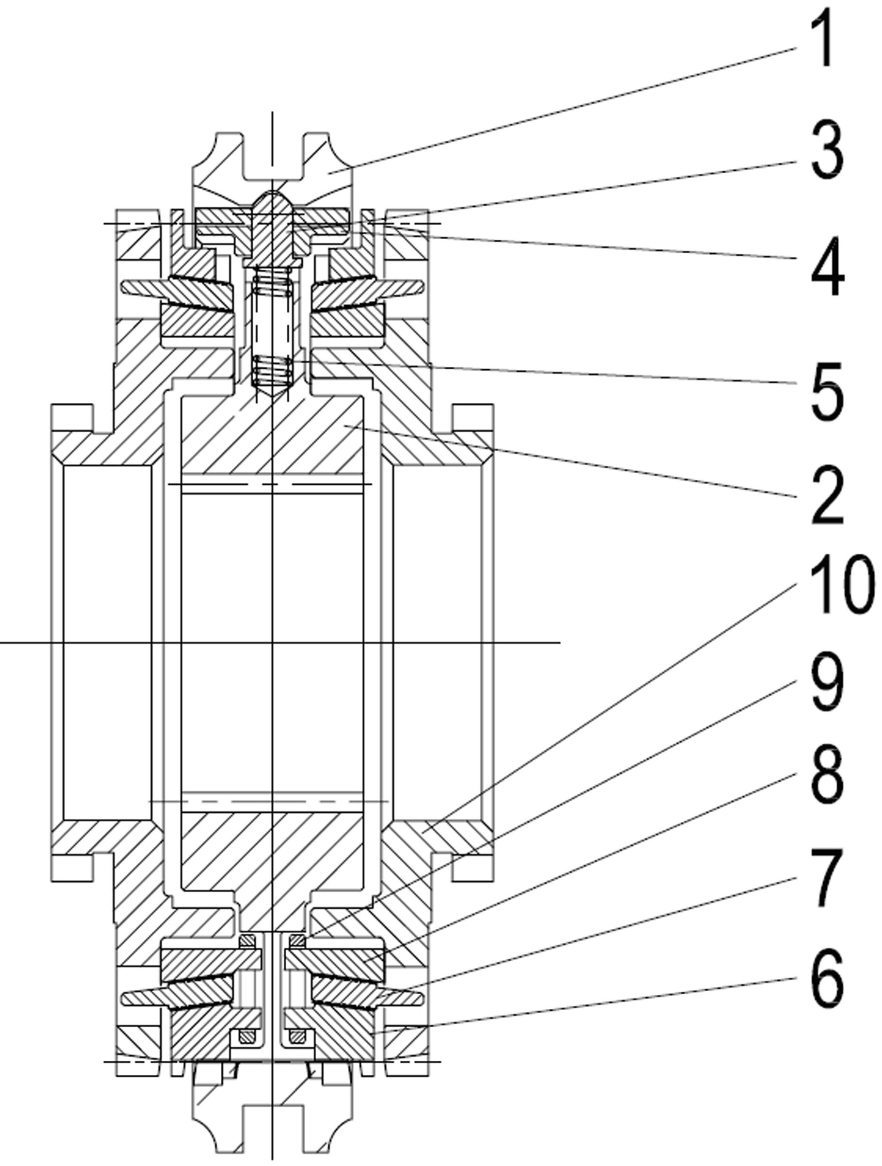
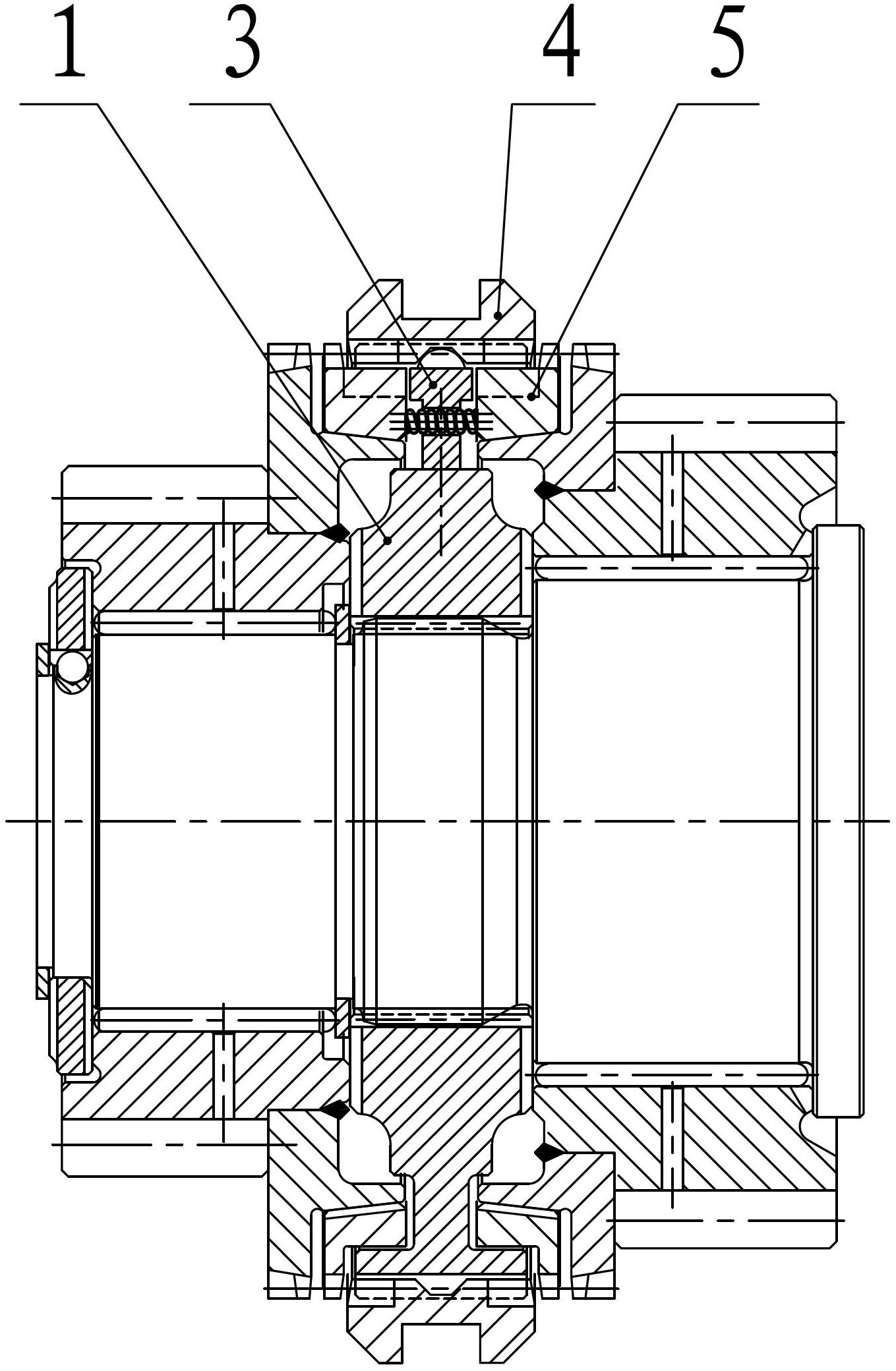
同步器零件图

同步器的使用和汽车的变速器到底什么关系
图片尺寸1101x1482
一种自增力惯性锁环式同步器
图片尺寸2692x1585
一种汽车变速器同步器
图片尺寸1359x2080
一种紧凑结构同步器的制作方法
图片尺寸1665x1425
一种短行程双锥面锁环式同步器
图片尺寸1330x2192
同步器总成
图片尺寸2711x1416
底盘结构 同步器
图片尺寸1728x1080
锁销式双锥同步器
图片尺寸1840x1550
每天30秒让你更懂汽车
图片尺寸720x299
锁销式汽车同步器
图片尺寸812x894
一种带有同步导绳同步器的电动葫芦的制作方法
图片尺寸1624x2555
同步器有哪些类型?
图片尺寸474x406
汽车同步器工作原理
图片尺寸500x308
具有防脱出集成滑块的同步器
图片尺寸1569x978
一种双中间轴变速器用双锥面同步器
图片尺寸1818x2403
每天30秒让你更懂汽车
图片尺寸720x348
组合式同步器结构的制作方法
图片尺寸1000x956
一种新型锁止凸台汽车同步器总成
图片尺寸553x1000
一种新型同步器
图片尺寸1738x1104
每天30秒让你更懂汽车
图片尺寸600x271