吸收塔内部

吸热塔内部
图片尺寸498x335
除灰脱硫专业的电除尘器及吸收塔等重要设备需通过内部开启人孔门进行
图片尺寸1080x1440
【微●资讯】公司8号机组超低排放改造项目进入吸收塔防腐施工阶段
图片尺寸640x853
脱硫吸收塔效果不好是什么原因?入口烟道出现积垢怎么处理?
图片尺寸500x375
吸收塔济南新星废气净化塔直销商酸雾吸收塔
图片尺寸700x525
二级吸收塔顶部设湿式电除尘器.
图片尺寸1136x639
2018206927819
图片尺寸341x444
pp耐高温除雾器四通道除雾器吸收塔除雾器定制
图片尺寸750x750
活性炭吸附塔
图片尺寸750x750
200mw机组脱硫吸收塔喷淋管堵管故障分析与处理
图片尺寸550x644
吸收塔cad装配图
图片尺寸820x701
pp喷淋塔废气处理设备除烟脱硫除酸雾吸收塔工业喷漆除尘净化塔沾运
图片尺寸750x960
玻璃钢尾气吸收塔尾气洗涤塔酸雾净化器厂家供应
图片尺寸588x688
脱硫吸收塔外循浆液管喷淋管
图片尺寸960x1280
一种节能高效逆流式氨法脱硫吸收塔的制作方法
图片尺寸366x443
一种用于尾气吸收塔内的除沫丝网喷淋清洗装置
图片尺寸800x736
脱硫塔浆液主管 吸收塔脱硫喷淋层 除雾器 耐高温 耐磨
图片尺寸745x500
重要节点斯尔邦石化吸收塔开始进行热处理
图片尺寸640x426
玻璃钢酸雾吸收塔
图片尺寸790x1013
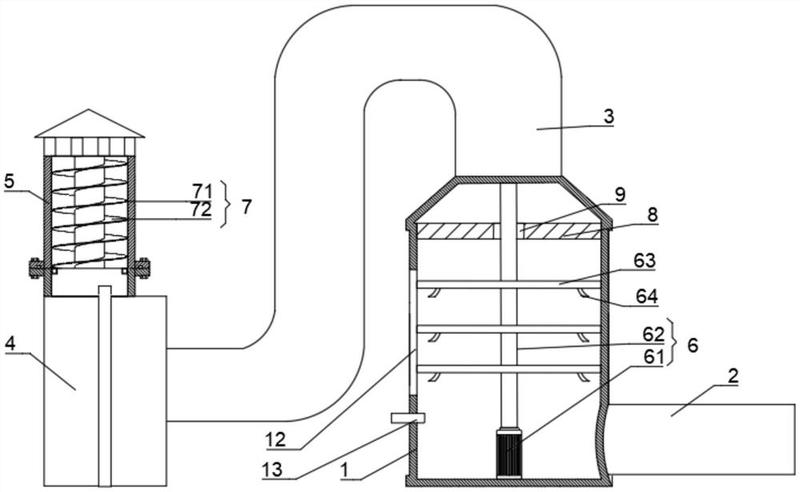
进气管的一端与吸收塔固定连接,且进气管的内部与吸收塔的内部连通;出
图片尺寸800x492