吹壳机设计图

下料斗安装在机壳的顶板上,所述的机壳内固定有去壳仓和吹壳仓,去壳仓
图片尺寸1806x1704
花生剥壳脱壳机结构设计含cad零件图装配图solidworks三维图
图片尺寸1137x815
吹瓶机
图片尺寸1024x804
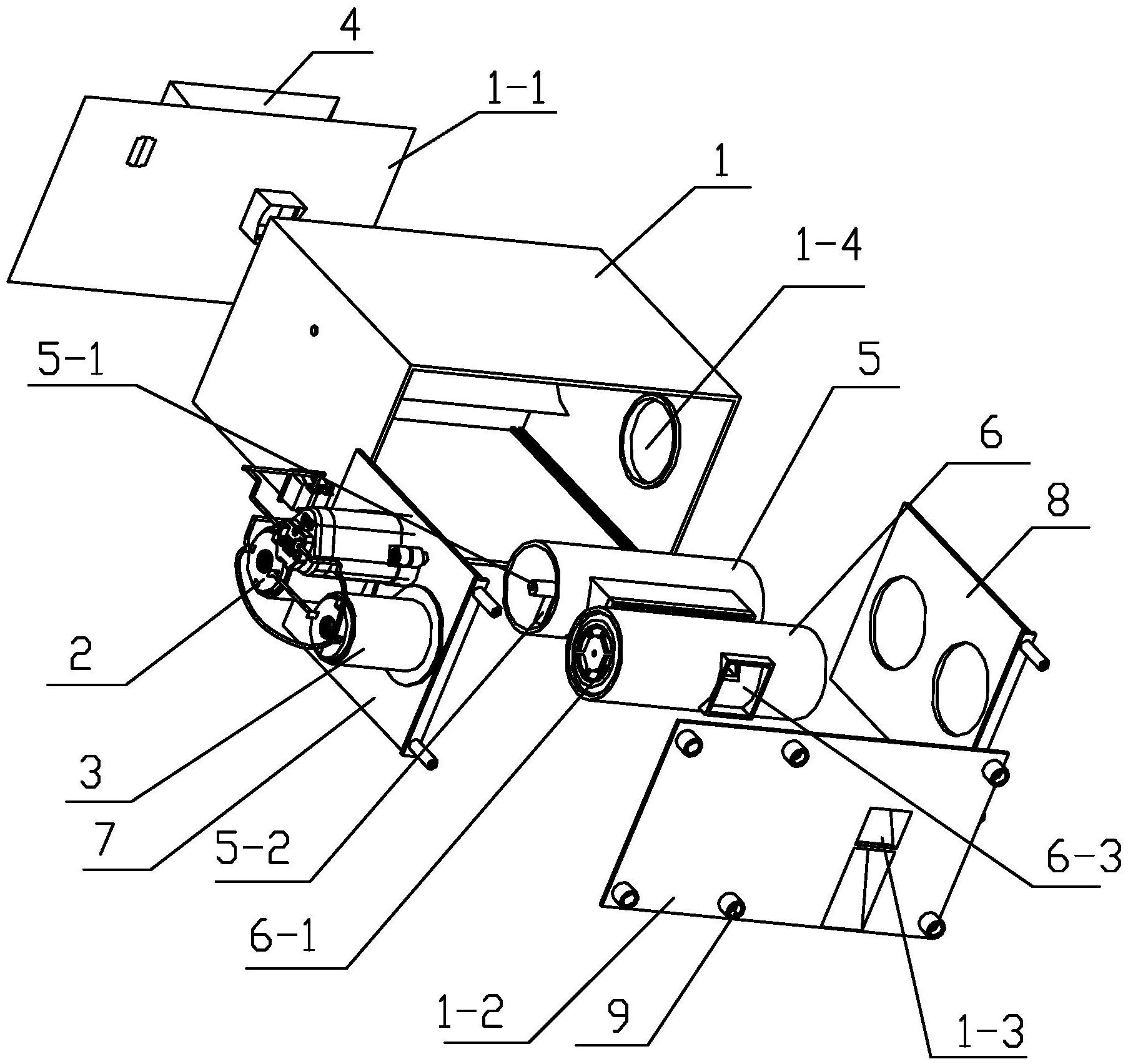
刮板式花生机去壳机的设计
图片尺寸830x654
mach,吹风机,外观设计
图片尺寸1400x990
本发明提供一种吹风机的主体结构,包括主体壳所述主体壳内依次设有出
图片尺寸2137x2432
分选速度可调的剥壳机用出料装置制造方法及图纸
图片尺寸1000x914
本图纸设计了一种小型家用花生剥壳机,通过电动机带动齿辊对花生进行
图片尺寸901x743
一种油茶剥壳机的制作方法与工艺
图片尺寸1000x779
吹风头和红外组件,加热组件,红外组件和出风组件依次安装在壳体内
图片尺寸1704x1933![花生剥壳机的设计-去壳机设计【三维sw】[8张cad图纸,说明书文档齐全]](https://i.ecywang.com/upload/1/img0.baidu.com/it/u=3163881382,1023542978&fm=253&fmt=auto&app=138&f=GIF?w=750&h=500)
花生剥壳机的设计-去壳机设计【三维sw】[8张cad图纸,说明书文档齐全]
图片尺寸1200x800
一种便携式吹膜机-爱企查
图片尺寸733x800
双滚筒气力循环式花生脱壳机设计含cad零件图装配图
图片尺寸1825x959
一种双螺杆aba三层共挤吹膜机的制作方法
图片尺寸931x1000
家用花生去壳机
图片尺寸676x778
bf533三速吹干机 地板地毯吹风机 适合酒店,宾馆,超市,办公室
图片尺寸739x536
去壳机图纸下载_去壳机免费图纸,设计模型大全 - 沐风网
图片尺寸285x231
核桃剥壳机的设计(三维sw模型)【11张cad图纸,说明书完整打包】
图片尺寸1200x800
cn111838936a_一种吹风机在审
图片尺寸2111x1785
一种塑料吹膜机
图片尺寸1854x1482