吹扫靶板图

吹扫用的靶板问题
图片尺寸733x501
主蒸汽爆破吹扫后靶板上斑痕如何准确测量?
图片尺寸918x672
吹管铝靶板便宜价格厂家
图片尺寸750x1000
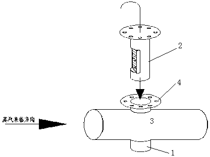
沧州厂家生产管道吹扫镜面靶板靶板轴靶板器靶板装置
图片尺寸1000x1334
光洁度16级铝靶板实验用电厂吹扫靶板器靶板轴
图片尺寸1000x1334
靶板——管道吹扫用
图片尺寸2592x1552
再热器串联吹扫检查杂物时用到的靶板器靶板,锅炉--阶段吹管时分离器
图片尺寸1440x1080
cn202661091u_气体管道用内置吹扫靶板有效
图片尺寸416x312
管道吹扫用靶板 冲管铝靶板
图片尺寸667x397
吹管用-紫铜靶板 溅射-黄铜靶板 吹扫实验-铝靶板
图片尺寸1000x750
电厂吹扫镜面铝靶板串轴式靶板器泽旭供应
图片尺寸1000x1333
大型火力发电厂锅炉蒸汽连续吹管靶板装置吹扫铜靶板
图片尺寸400x400
靶板器吹管用靶板器
图片尺寸2280x1080
电厂蒸汽吹扫用铝靶板
图片尺寸394x394
吹扫靶板蒸汽吹管靶板装置图片
图片尺寸1000x1334
镜面铜靶板电厂管道内部吹扫靶板器靶板装置可按图定制
图片尺寸400x400
按图生产蒸汽吹扫靶板装置厂家 质量可靠
图片尺寸750x1000
湛江靶板器,靶板装置
图片尺寸659x545
电子导电靶板打靶训练用品导电胸环靶板
图片尺寸750x750
电厂蒸汽吹扫用铝靶板
图片尺寸683x367