哈夫节的弊端

我们计算一下,假如全世界的人每天都乱扔一次垃圾的
图片尺寸496x702
达尔文:结婚,结婚,结婚——论证完毕
图片尺寸640x375
夫妻性生活混乱的危害
图片尺寸808x1169
15岁女生抽烟的危害女生抽烟有什么危害
图片尺寸920x1302
今天有些晚了,不说丫丫,说说小奇迹.今天不想说丫丫了,说说小 - 抖音
图片尺寸1223x926
读书的好处与坏处doc
图片尺寸800x1132
风的好处与坏处
图片尺寸920x1302
小学生上网弊大于利 小学生拥有零花钱弊大于利.doc
图片尺寸993x1404
一单元 索福克勒斯与《俄狄浦斯王ppt 《被缚了的普罗米修斯》: 情节
图片尺寸1080x810
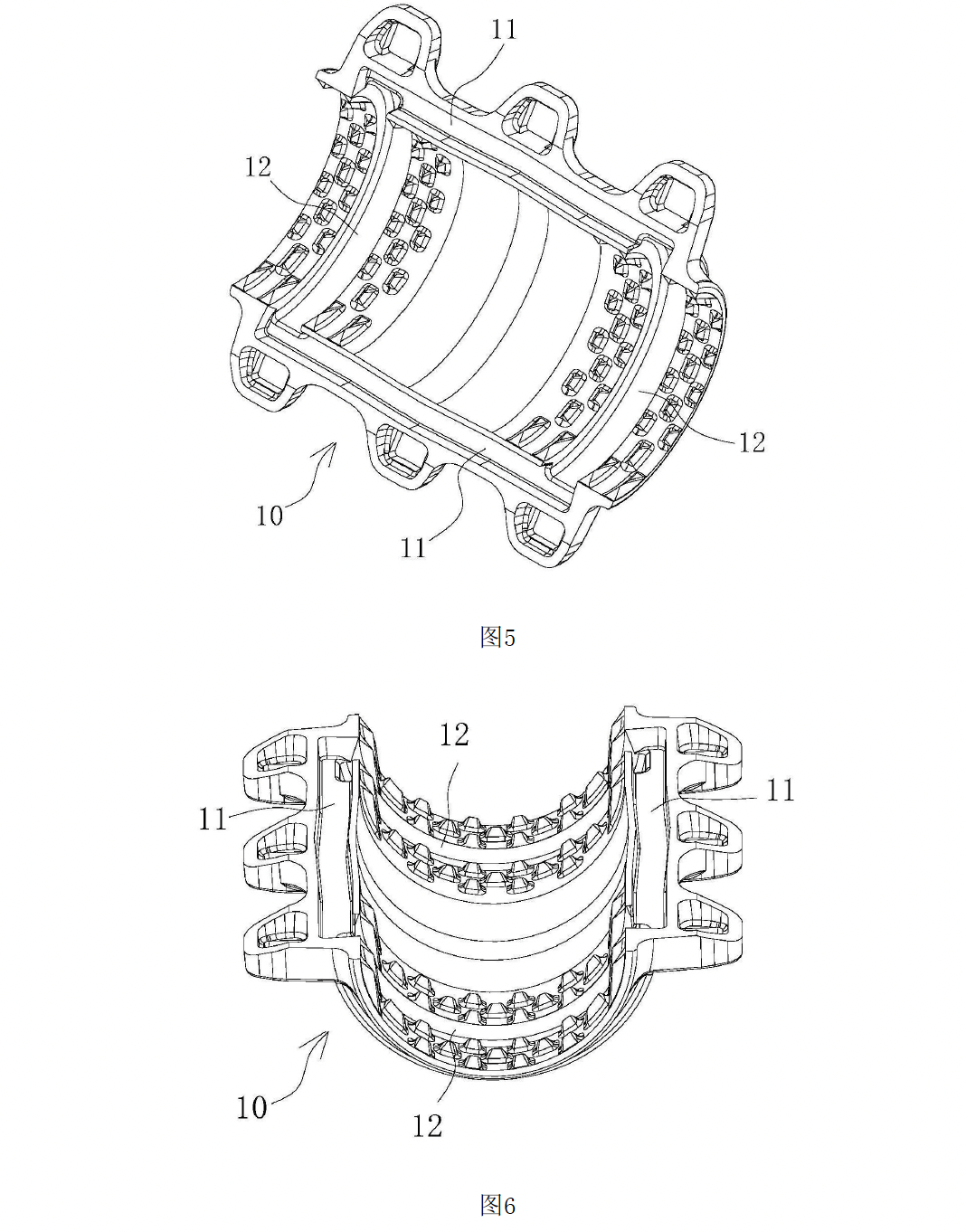
江夏法兰阀门法兰阀门厂哈夫节优质商家
图片尺寸525x762
肯德基swot分析
图片尺寸920x1302
吸烟的危害展板
图片尺寸857x1200
英雄的成长历程——论析《哈克贝利费恩历险记》中的哈克和吉姆.doc
图片尺寸993x1404
小故事大道理ppt
图片尺寸1080x810
赫鲁晓夫出台《关于斯大林个人崇拜及其后果》始末
图片尺寸1442x1930
二,分角色朗读剧本 1,了解故事情节 2,把握人物形象 三,梳理剧本结构
图片尺寸801x531
哈姆雷特ppt
图片尺寸640x500
青少年吸烟危害
图片尺寸800x1132
防脱哈夫节
图片尺寸1068x1362
碘盐与健康
图片尺寸1080x1434