回油过滤器结构

rf系列直回式回油过滤器
图片尺寸694x910
产家直营qyl型回油过滤器滤芯过滤器不锈钢过滤器液压滤芯
图片尺寸1095x1422
吸回油过滤器-爱企查
图片尺寸1549x2125
机油滤清器
图片尺寸1815x1305
大流量过滤器卧式结构图
图片尺寸595x457
过滤器结构图
图片尺寸400x309
3r超精密滤油机过滤器生产厂家
图片尺寸987x600
直桶式过滤器结构图
图片尺寸477x454
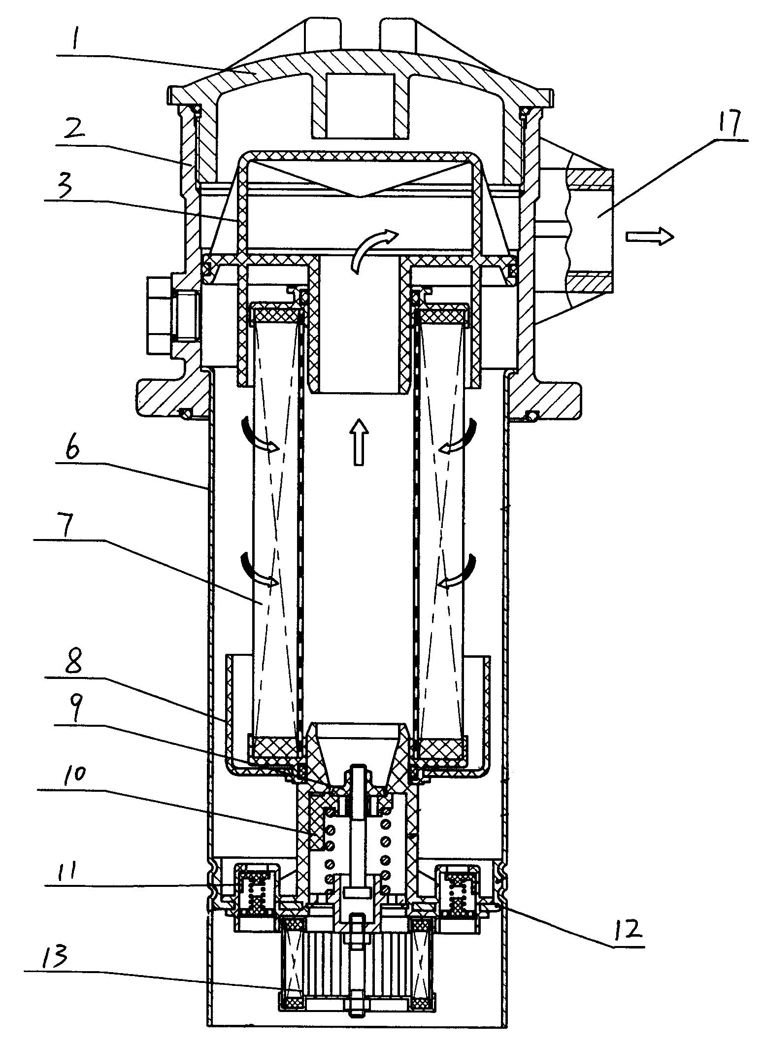
【精工液压】lxzs系列直回自封式磁性回油过滤器lxzs-400 滤油器
图片尺寸750x960
rf直回式回油过滤器
图片尺寸445x467
rfb 系列直回自封式磁性回油过滤器
图片尺寸830x2520
液压油过滤器的性能参数及分类
图片尺寸553x524
zsx-160x10 回油过滤器滤芯
图片尺寸1240x1683
各种过滤器的原理及结构
图片尺寸1411x1177
聚结式过滤器结构图
图片尺寸522x506
供应双筒回油过滤器
图片尺寸600x698
lpgx快卸式过滤器结构图.说明书
图片尺寸477x451
cn208824013u_一种新型沥青过滤器结构
图片尺寸909x1000
化工仪器网 技术中心 其他文章 正文 袋式过滤器壳体是一种结构新颖
图片尺寸750x453
叠式盘式过滤器
图片尺寸519x509