回灌井原理

演马庄西站回灌率达到80%以上,车站施工保证车站基坑外侧水位稳定
图片尺寸555x308
地热井尾水回灌技术-地热资源开发利用-地大热能
图片尺寸890x736
首页 新闻资讯 最新动态 因为传统技术都是采用开口井自流回灌,完全
图片尺寸600x250
暴雨径流水或再生污水通过地表渗滤或回灌井注水,或者通过人工系统
图片尺寸516x286
一种提高地下水回灌效率的回灌井-爱企查
图片尺寸1961x1965
基坑回灌施工的随意性很强,规范的设计和施工往往导致回灌井数量设置
图片尺寸839x437
回灌井点和降水井点区别,回灌井点作用
图片尺寸421x525
3. 回灌井工艺流程
图片尺寸565x465
地热回灌技术
图片尺寸450x381
回灌井点布置示意图
图片尺寸856x672
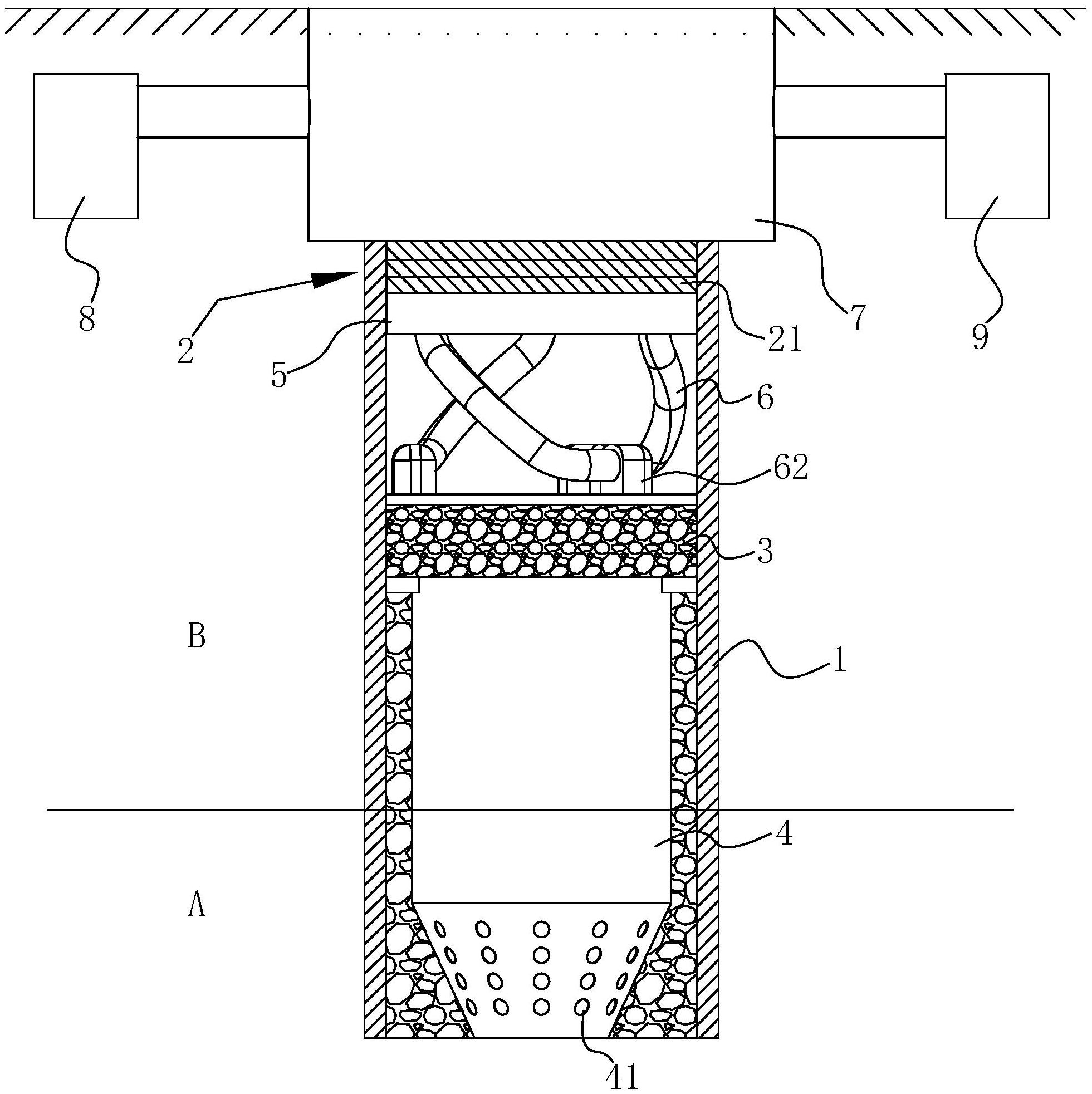
用于复合式地源热泵系统的水源热泵回灌的方法
图片尺寸1851x1715
一种提高地下水回灌效率的回灌井_cn201821716846.5_知雀网
图片尺寸997x1000
城市地下水利用系统15.图中右侧的深井,所发挥的作用是a.滴灌 b.
图片尺寸403x246
图3 回灌加压示意图回灌井上安装压力表及流量计,灌水量与压力要由小
图片尺寸560x278
图3-11 反滤围井示意图(5)平衡水压法.
图片尺寸404x659
虹吸现象是什么原理?
图片尺寸593x435
如果回灌水量较大,渗透性能不好的含水层,在回灌时井中地下水难以及时
图片尺寸793x412
自流向回灌井注水,若井水位与地下水水位的水头差较小,则回灌流量小
图片尺寸220x212
井控培训内容1ppt
图片尺寸1080x810
回灌井 (化工)
图片尺寸600x276