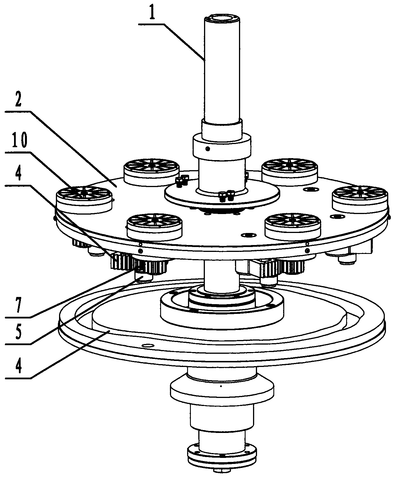
回转转盘结构图

一种具有快速换模装置的双色注塑机转盘机构
图片尺寸1759x2212
cn210941444u_稳定转动的转盘结构有效
图片尺寸1000x944
稳定转动的转盘结构的制作方法
图片尺寸1000x944
大转盘的旋转运动分析(轴承内外圈如何运动?
图片尺寸1147x645
转盘机构的制作方法
图片尺寸1000x857
一种双齿轮传动转盘结构的制作方法
图片尺寸956x1000
主动轮 锥型套结构通过同步带进行传动;大带轮带动整个转盘转动
图片尺寸622x540
产品的制造及其应用技术 图1是本实用新型双轴式旋转盘的结构示意图
图片尺寸1000x735
本实用新型公开了一种新型旋转盘组件,包括底盘,电机
图片尺寸1977x1899
挖掘机回转机构发出异响的结构改进
图片尺寸556x337
一种包装机械的转盘结构制造技术
图片尺寸904x1000
一种搬运车的转盘结构及其装配方法与流程
图片尺寸1000x529
gps系列回旋钻机 1c-0转盘
图片尺寸741x1024
cn209692514u_一种旋转自动分拣机用转盘中心旋转传动结构有效
图片尺寸1000x772
回转盘模型
图片尺寸802x471
一种旋转盘装置的制作方法
图片尺寸818x1000
四工位旋转转盘设计
图片尺寸649x532
一种农村生活污水处理用一体化生物转盘
图片尺寸1730x1021
一种定位转盘机构制造技术
图片尺寸877x1000
回转式贴标机托瓶转盘装置,属于贴标机配件技术领域,其结构包括与贴标
图片尺寸1375x1666