固定结构设计

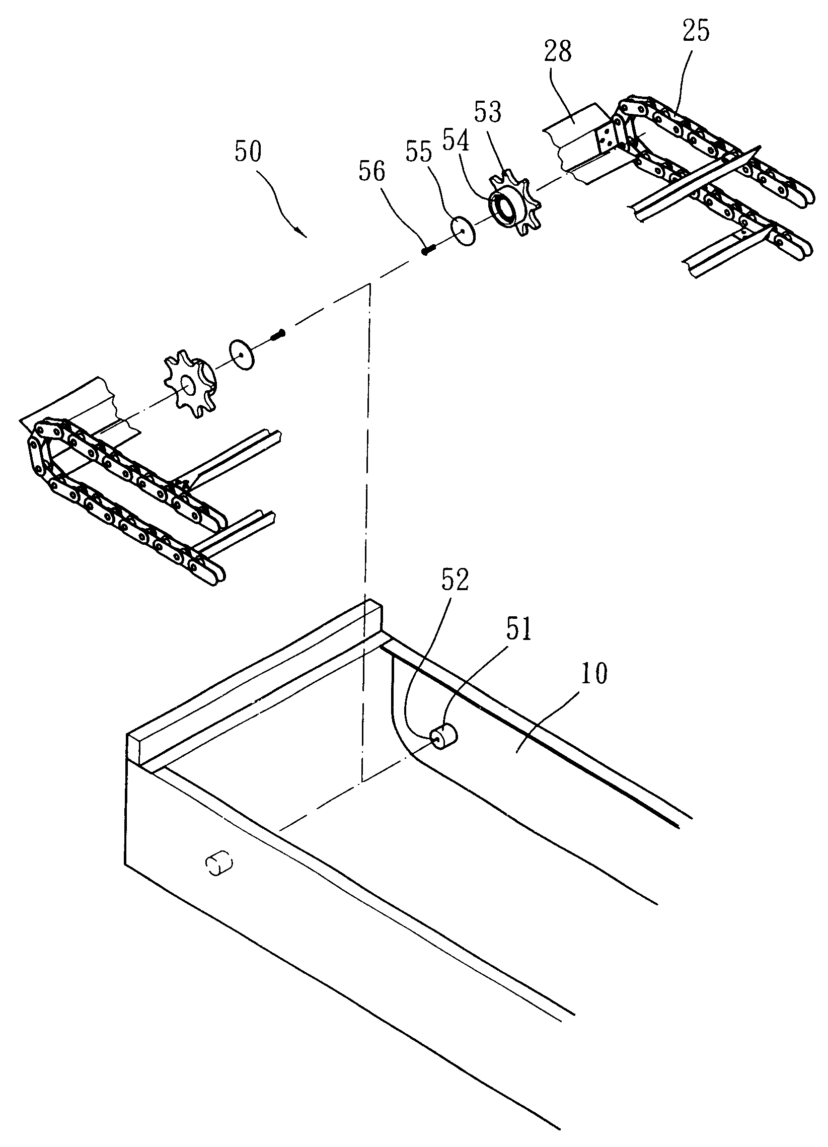
金属排屑机的传动链轮固定结构
图片尺寸1645x2278
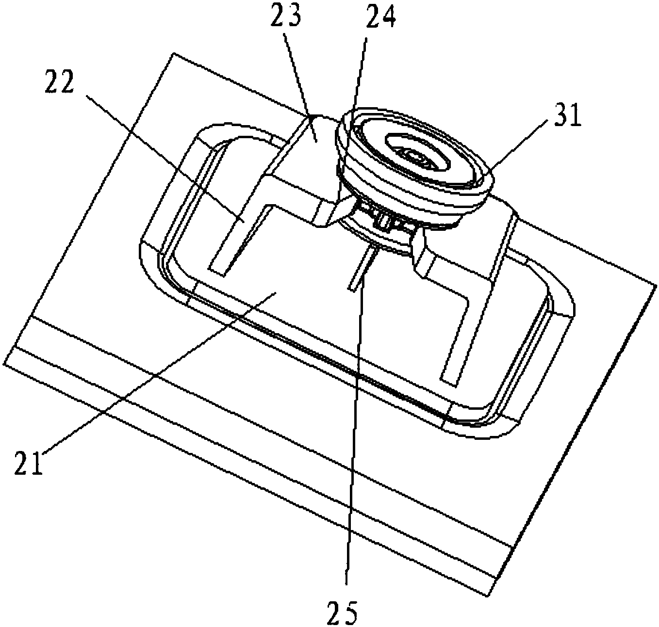
卡式风机盘管冷凝组固定结构的制作方法
图片尺寸1000x993
一种模具定位的固定结构
图片尺寸1519x2716
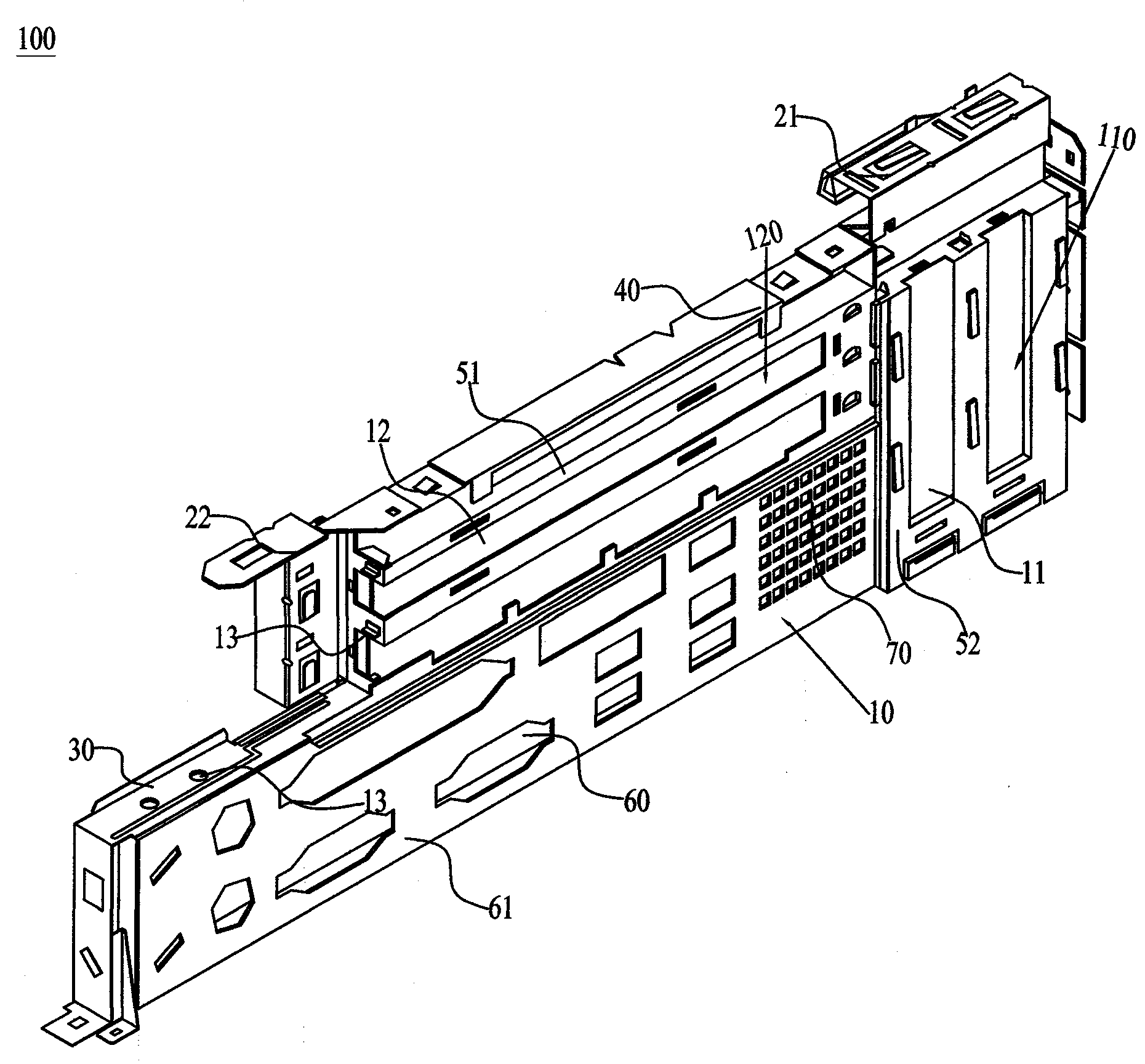
cn101609355a_机壳固定结构
图片尺寸1860x1728
一种升降脚手架固定结构的制作方法
图片尺寸424x443
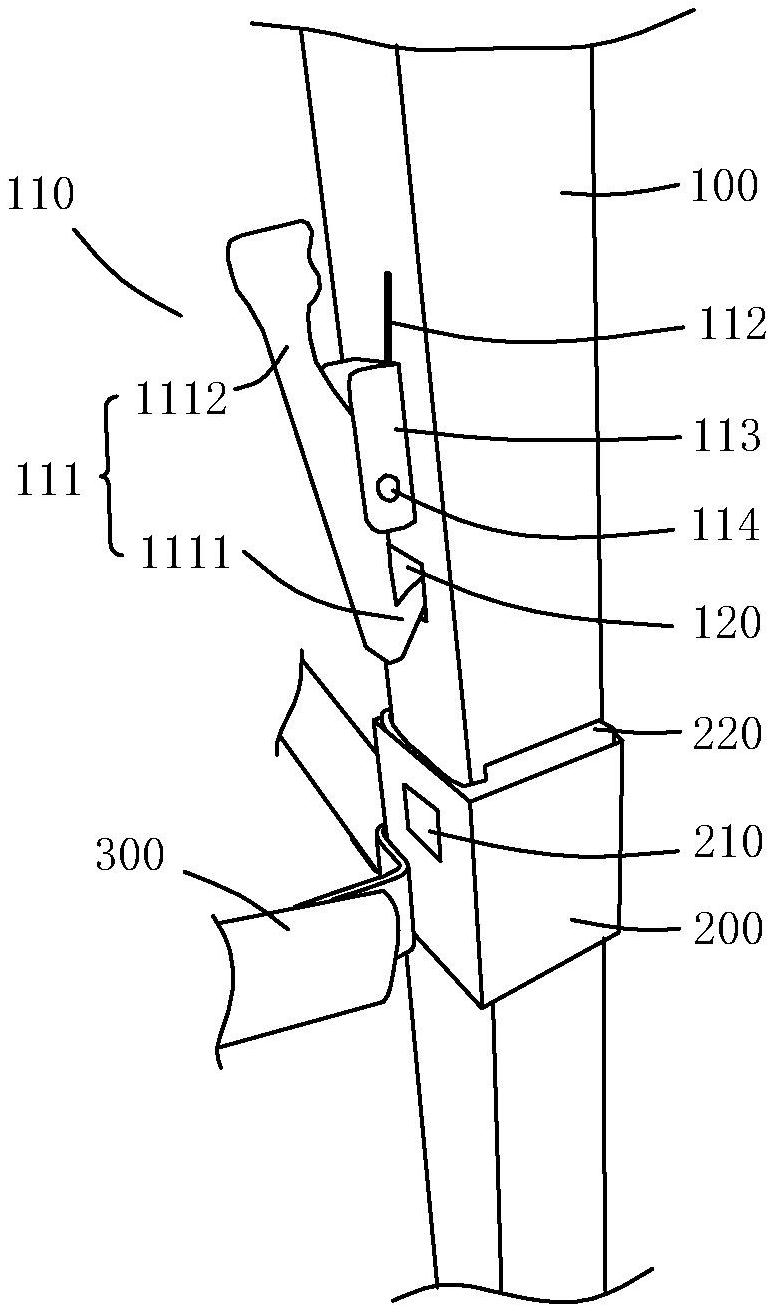
线缆固定结构
图片尺寸2017x1629
一种电路板阻焊用便于快速更换的固定结构
图片尺寸1411x875
一种机械工程结构件固定装置的制作方法
图片尺寸421x443
一种晾衣架用钢丝绳固定结构
图片尺寸1466x1171
cn211647559u_帐篷的固定结构
图片尺寸775x1313
一种用于屋面光伏阵列的固定支架结构
图片尺寸2080x1496
一种土木工程桩基固定结构
图片尺寸1210x848
一种电力设备用固定安装结构的制作方法
图片尺寸412x341
cn212386186u_一种便利贴的固定架结构有效
图片尺寸877x1421
一种广播电视拍摄用轨道车三角支架固定结构的制作方法
图片尺寸983x1000
cn107495696a_固定结构有效
图片尺寸1093x928
一种具有散热结构的电机固定装置
图片尺寸1662x1404
cn204221419u_用于铣床的料件固定结构有效
图片尺寸1000x963
cn2907185y_固定结构失效
图片尺寸1087x978
cn206049820u_顶棚安装固定结构有效
图片尺寸1358x1293