国美电器集团

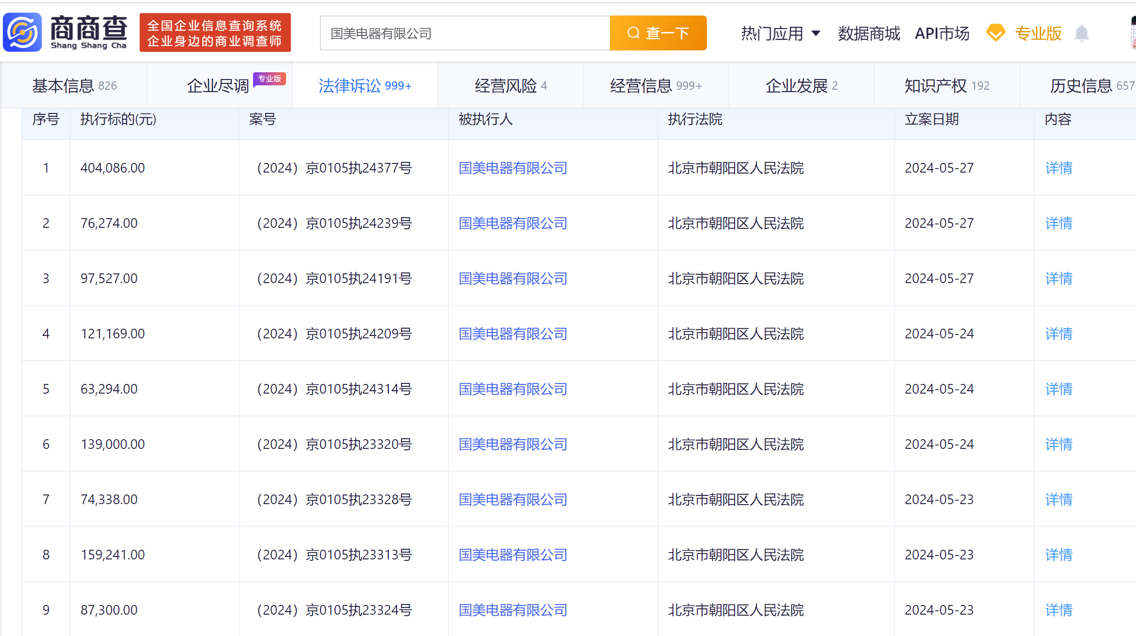
国美电器累计被执行达70亿
图片尺寸2343x1312
一个显而易见的迹象,便是国美电器直营门店数量的大幅缩减,这无疑是
图片尺寸640x372
国美电器累计被执行达70亿
图片尺寸2082x926
国美电器被强制执行4.4亿
图片尺寸960x454
国美电器长兴旗舰店盛大开业.
图片尺寸1920x1440
欠债65亿,黄光裕还端着首富的架子|黄光裕|国美|国美电器_新浪新闻
图片尺寸700x468
8亿,国美电器累计被执行超33亿
图片尺寸1735x976
国美电器已被申请破产清算总负债规模达58568亿元
图片尺寸640x435
国美电器标志logo图片
图片尺寸1200x800
国美电器等被强制执行1.78亿 国美电器累计被执行超65亿
图片尺寸882x545
67亿元!南京国美电器商场将被司法拍卖_腾讯新闻
图片尺寸1000x1333
全品类供应链赋能国美电器打通全零售行业
图片尺寸1200x801
国美电器网站建设_(国美电器网站建设现状分析)
图片尺寸1269x895
国美零售否认关闭广东所有门店:截至9月底自营和加盟店109家_新浪财经
图片尺寸992x558
实体店巨头国美电器为什么坠落关闭了
图片尺寸846x528
新街口国美电器遭抛售!降了一个亿
图片尺寸909x682
国美电器(龙之梦购物中心虹口店)地址,电话,营业时间(图)-上海美团网
图片尺寸2048x2730
国美电器(龙之梦购物中心虹口店)
图片尺寸960x1280
淅川新联会书法家走进淅川国美电器义写春联庆新春
图片尺寸2666x2000
国美零售上线 整装待发进行时_家用电器_容商天下
图片尺寸500x318