圆织机结构图

单双面针织圆机成圈原理图.doc 2页
图片尺寸993x1404
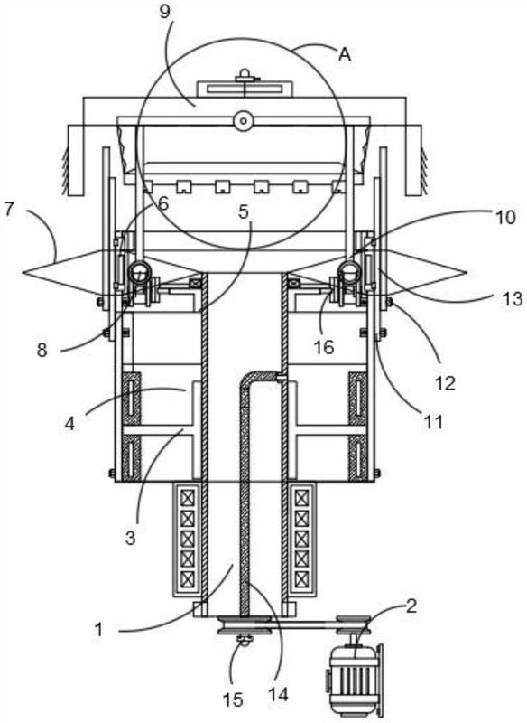
一种塑料圆织机
图片尺寸1000x676
本实用新型涉及纺织设备的技术领域,尤其是涉及一种大圆机.
图片尺寸843x1000
g263系列圆盘织布机说明及构造原理
图片尺寸800x600
一种自动除尘双面针织大圆机的制作方法
图片尺寸443x390
背景技术:针织大圆机学名针织圆形纬编机或者叫做针织圆纬机.
图片尺寸916x1000
针织大圆机基础知识
图片尺寸1015x764
cn101775694a_纬编高低圈绒提花针织圆机有效
图片尺寸1708x1598
一种纬向多梭口圆织机的制作方法
图片尺寸1000x641
一种用于生产罗马针织面料的大圆机的制作方法
图片尺寸353x443
一种可编织筒布的圆织机-爱企查
图片尺寸584x800
一种圆针织机的制作方法
图片尺寸1000x593
可实现同步运转的圆编针织机制造技术
图片尺寸1000x909
cn202492661u_阔丝小凸轮圆织机有效
图片尺寸1000x868
古老的科技~织布机
图片尺寸1066x611
一种圆织机的制作方法
图片尺寸882x1000
一种稳定低纬丝间隙的大凸轮式圆织机的制作方法
图片尺寸1000x909
一种新型节能环保的小凸轮圆织机-爱企查
图片尺寸800x716
一种由齿形带传动的三维圆形编织机
图片尺寸1000x908
一种塑料圆织机制造技术
图片尺寸1000x463