圆规分解图

一种教学作图圆规制造技术
图片尺寸733x1000
一种三用圆规的制作方法
图片尺寸1000x627
多用圆规制造技术
图片尺寸800x1115
一种圆规
图片尺寸722x742
一种带刻度的圆规的制作方法
图片尺寸687x1000
如何用圆规画圆
图片尺寸920x690
圆规png免抠素材
图片尺寸539x812
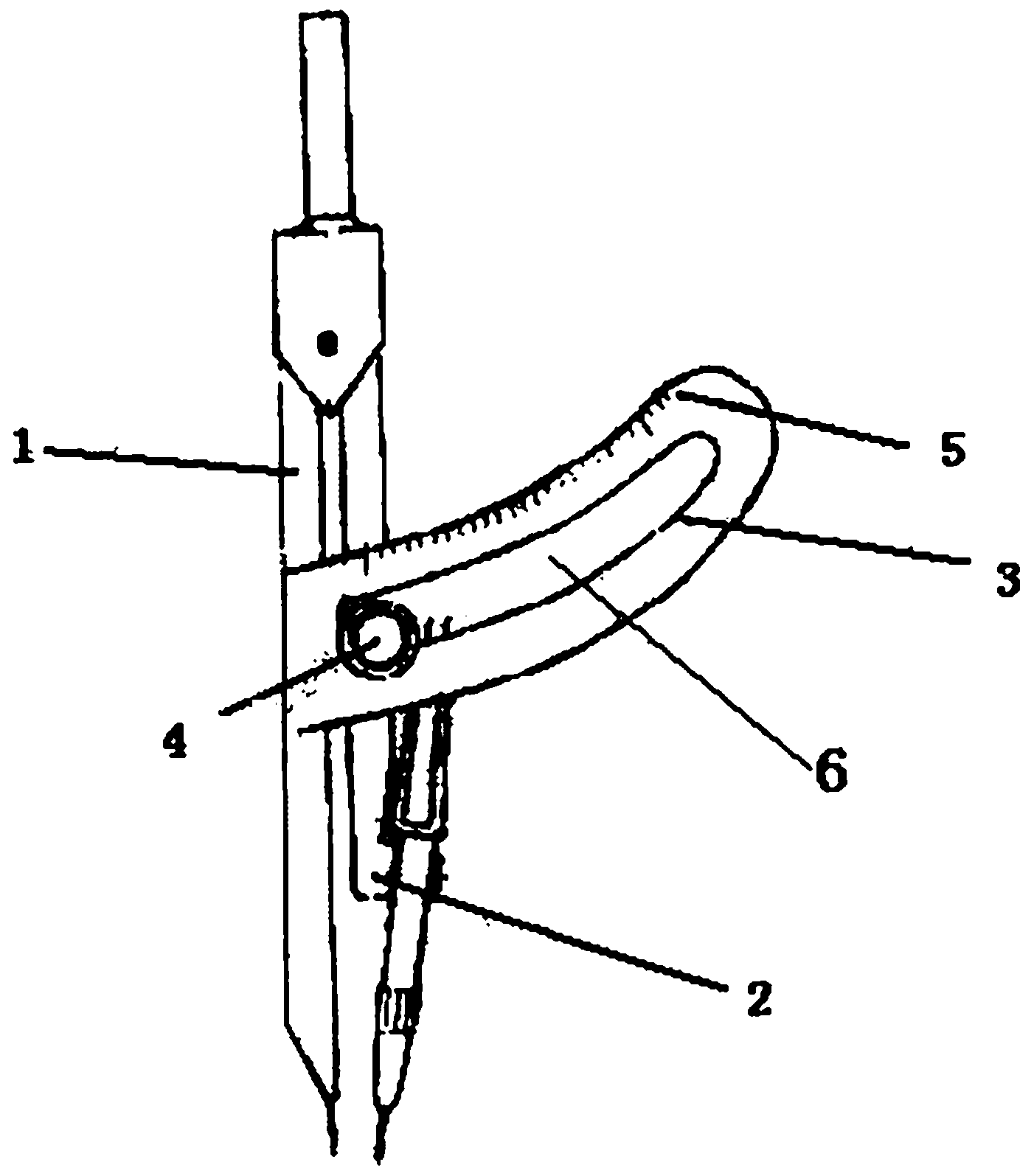
圆规
图片尺寸1402x1595
圆规角度图片
图片尺寸1024x514
圆规矢量图
图片尺寸650x1653
卡通手绘圆规
图片尺寸350x350
生活用品banner学习用品卡通圆规
图片尺寸650x698
工程机械制图绘图工具套装圆规专业画工图作图工科大学生建筑土木
图片尺寸750x1000
你之前回答我的用圆规以半径约为20.6cm画个弧长为31.
图片尺寸500x283
工程机械制图绘图工具套装圆规专业画工图作图工科大学生建筑土木
图片尺寸800x800
圆规
图片尺寸2146x2146
tikz 绘制的圆规示意图
图片尺寸612x766
用圆规和直尺在下列图中分别面出正三角形,正方形,正六边形和正八边形
图片尺寸339x325
机械工程制图绘图工具套装组合制图建筑机械制图仪器作图做图圆规分规
图片尺寸800x800
圆规套装工程工图制图绘图包专用丁字尺组合工具包实用大学生建筑
图片尺寸800x800