圆钢折弯模具

不锈钢圆棒折弯模具
图片尺寸1080x608
弯管模具和管子大小有关系吗
图片尺寸500x300
高档折弯机上下模具车厢模瓦楞模圆弧模具平刀尖刀单v下模数控模
图片尺寸2993x3991
圆钢折弯模具近距离操作演示,果然高手在民间啊
图片尺寸1024x576
折弯机模具厂选择源头厂家的折弯机模具,您可以享受到全方位的服 - 抖
图片尺寸720x1000
折弯机上下模具车厢模瓦楞模圆弧模具平刀尖刀单v下模数控模具
图片尺寸2963x3951
实心圆钢切断模具 切口平整无毛刺还不会烫手
图片尺寸1024x576
实芯圆钢压弯90度角机 角铁圆钢冲断模具
图片尺寸1004x627
实心圆棒钢筋冲断模具
图片尺寸1004x627
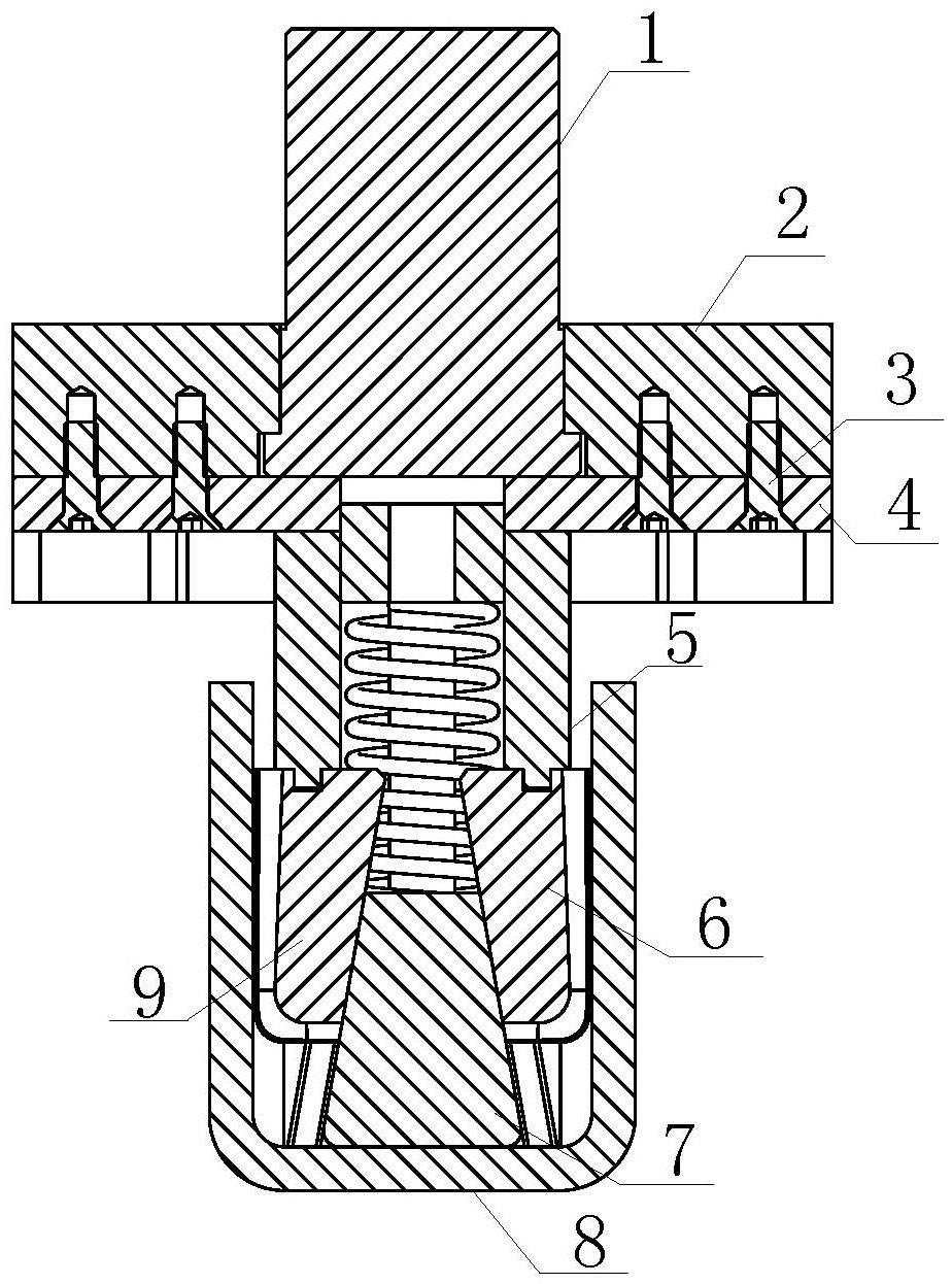
一种圆钢u型折弯模具上模的制作方法
图片尺寸866x1000
折弯机圆弧折弯模具精密圆弧型折弯机刀模具折弯机r圆弧模具
图片尺寸750x632
钣金折弯设备展示
图片尺寸1440x1920
cn207043172u_一种圆钢u型折弯模具上模有效
图片尺寸924x1246
圆管焊管模具冷弯成型模不锈钢钢管制管机模具
图片尺寸800x1066
圆钢压弯成型,角钢方通冲孔切断机械模具
图片尺寸1080x608
2000x150x26折弯机上模数控折弯机模具
图片尺寸640x640
【定制】圆弧折弯机模具 r型折弯刀模 门槛u型折弯机刀具
图片尺寸1080x1080
圆棒折弯90度模具 多功能圆钢扁铁切断机
图片尺寸1280x720
产品列表 弯管机模具 > 厂家直销 圆管弯曲模 抽芯弯管模 不锈钢薄壁
图片尺寸750x531
圆钢家用弯曲提调钢筋机器1圆管箍20mm折弯其他机械五金新
图片尺寸400x400