地灯平面图

地面浇筑时提前预埋pvc套管
图片尺寸1676x1280
led长条地埋灯嵌入式户外防雨广场地面庭院条形埋地灯
图片尺寸790x1059
一种环氧混凝土一体浇注户外地灯
图片尺寸603x399
一种道路地灯
图片尺寸1737x1968
需求座地灯的种类繁多,座地灯一般都安装在平面上,座地灯都为固定出光
图片尺寸801x1000
一种led地灯的制作方法
图片尺寸977x1000
一种新型园林景观地灯
图片尺寸885x1133
一种使用寿命长的led地灯的制作方法
图片尺寸1000x562
一种自动感应式地灯的制作方法
图片尺寸415x443
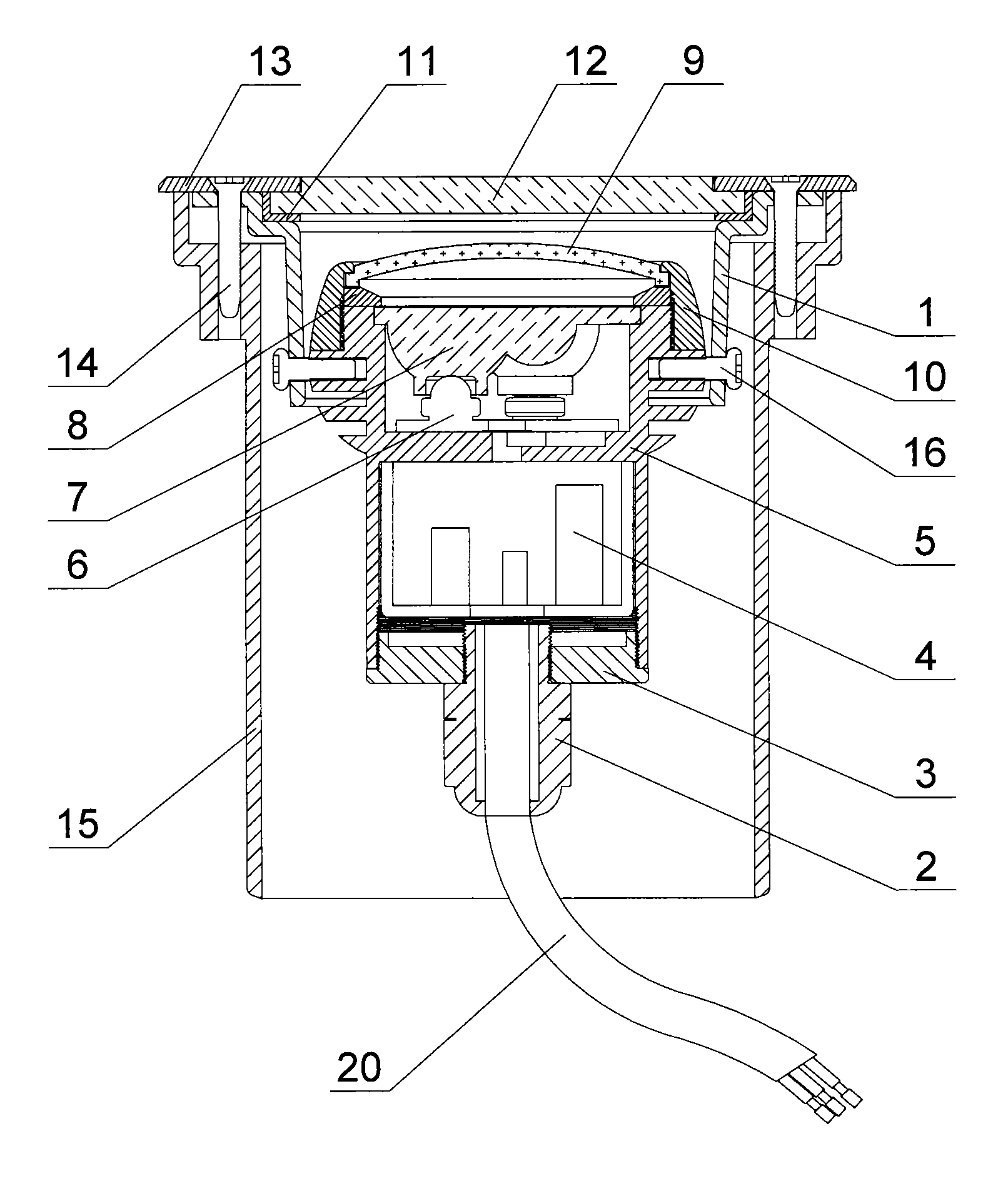
cn101338871a_一种可转头的地灯有效
图片尺寸1612x1889
地埋灯led户外防水埋地灯嵌入式广场地灯草坪灯庭院灯景观射灯 36w
图片尺寸750x454
本发明涉及照明组件,尤其是涉及地灯,具体为一种新型
图片尺寸595x503
cree透镜 led景观照明 投光灯 批发led地灯 小功率led埋地灯 led埋地
图片尺寸988x578
一种装饰地灯的制作方法
图片尺寸1000x816
一种防尘防水地灯的制作方法
图片尺寸1000x804
一种新型多功能园区地灯的制作方法
图片尺寸605x1000
一种由半球形太阳能供电的环保地灯
图片尺寸438x481
本实用新型涉及地灯技术领域,更具体地说,它涉及一种园林用地灯.
图片尺寸398x471
一种由半球形太阳能供电的环保地灯
图片尺寸328x360
【12w钢面偏光led地埋灯方形嵌入安装埋地灯磨砂玻璃
图片尺寸790x622