地灯手绘

漂亮的落地灯简笔画怎样画
图片尺寸900x600
矢量剪影手绘经典落地灯站在白色的背景
图片尺寸761x1200
手绘欧式落地灯剪影
图片尺寸610x888
可爱落地灯简笔画
图片尺寸750x500
落地灯简笔画如何画
图片尺寸900x600
可爱落地灯简笔画
图片尺寸500x501
简约落地灯简笔画教程
图片尺寸900x600
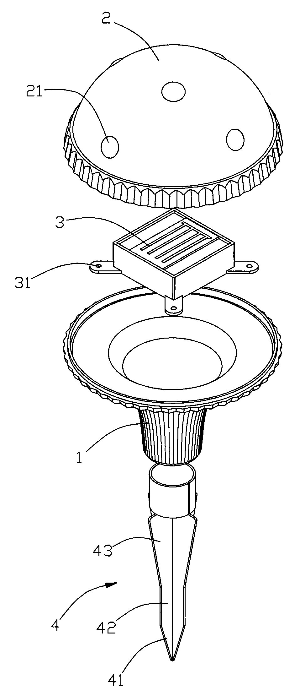
太阳能地灯,包括灯座,安装于灯座上的发光体以及罩
图片尺寸957x2216
多功能落地灯
图片尺寸800x1119
矢量,房屋,落地灯,灯罩,办公室矢量图素材_id:164901874
图片尺寸612x612
本实用新型公开一种园林地灯,属于园林灯技术领域,包
图片尺寸1413x1777
一种道路地灯
图片尺寸1737x1968
创意黑白单色涂鸦手绘落地灯
图片尺寸253x253
手绘白色落地灯插画
图片尺寸2000x1328
落地灯简笔画步骤图
图片尺寸900x600
手绘室内装修落地灯插画图素材
图片尺寸610x1470
落地灯简笔画
图片尺寸900x601
一种led地灯的制作方法
图片尺寸977x1000
落地灯
图片尺寸896x1263
cn208901243u_一种调角度方便的地灯
图片尺寸843x1000