地铁联轴节

轨道交通联轴器
图片尺寸1623x852
iworkermes系统赋能装备制造业国家队高质量发展
图片尺寸399x330
联轴器为"国家发改委重大技术攻关项目"系列化中国标准地铁部件之一
图片尺寸1040x424
高性能的挠性元件联轴器为什么需要垫片?
图片尺寸500x342
半刚性弹性联轴节
图片尺寸2856x2358
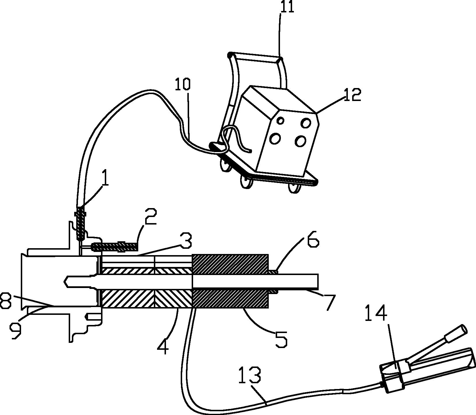
地铁联轴节液压装卸装置-爱企查
图片尺寸1649x1438
沧州天硕联轴器有限公司
图片尺寸500x500
供应信息-地铁轨道联轴器_多膜片型联轴器_齿式联轴器_山东膜片联轴器
图片尺寸2100x1400
地铁车辆联轴节及齿轮箱技术研究
图片尺寸530x233
民企打破国外地铁轴箱轴承垄断
图片尺寸467x468
昆明中车着力打造云南轨道交通装备产业优势集群
图片尺寸996x623
7上海虎桥国际物流有限公司大连地铁大修联轴节/万向轴进口报关报检
图片尺寸400x400
万向节 沈阳gsw联轴器厂 生产万向节
图片尺寸400x400
外研版 必修一 module3 cultural corner---- the
图片尺寸1080x810
product
图片尺寸1429x981
1 气液缓冲器智能组装测试2.2 缓冲器橡胶球轴承精密压装2.
图片尺寸800x533
半联轴节
图片尺寸450x350
联轴器 玛丝商贸 联轴器种类
图片尺寸600x479
高弹性联轴器centaflexb系列
图片尺寸769x844
地铁是怎样拼起来的
图片尺寸1034x682