地震仪结构图

四千年地震史只出现过一台神级地动仪
图片尺寸580x477
张衡地动仪被移出教科书,中科院院士:房梁下吊一块肉都比那个强_地震
图片尺寸512x608
地震仪是如何记录地震的
图片尺寸599x261
张衡发明地动仪这一事件,为何从历史课本里删除了?_地震
图片尺寸400x254
地震仪的前世今生来了解一下
图片尺寸650x488
地震科学进展
图片尺寸1969x1443
地震科学进展
图片尺寸1969x1290
后来,中国地震台网中心研究员冯锐也设计出新的地动仪,他认为张衡的
图片尺寸600x448
数字地震仪 - 煤炭百科
图片尺寸1139x786
地震仪工作原理
图片尺寸720x930
背景技术:地震仪在能源勘探,地震观测,研究地壳运动,地球内部结构成像
图片尺寸1000x838
背景技术:海底地震仪在研究地壳运动,资源勘探开发,地球内部结构成像
图片尺寸1000x654
一种自埋式海底地震仪-爱企查
图片尺寸1574x1031
数字地震仪原理方框图
图片尺寸975x325
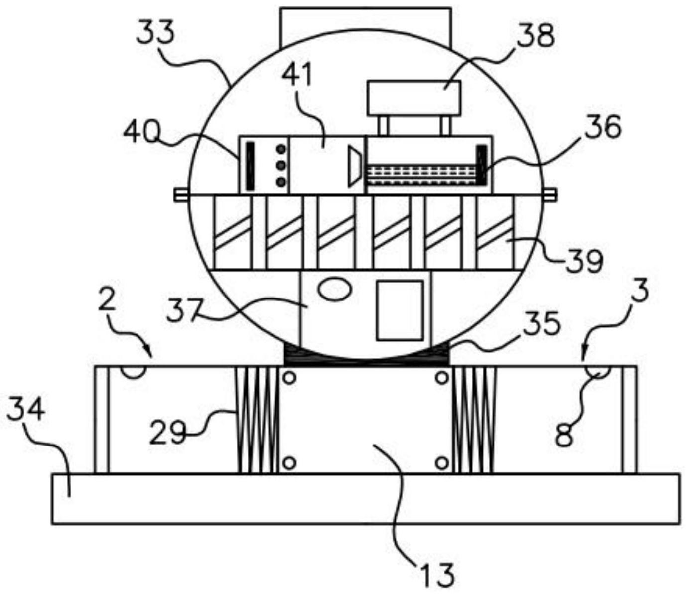
cn111665566a_一种自沉浮式宽频带单/多舱球海底地震仪在审
图片尺寸1381x1194
地震仪的前世今生来了解一下
图片尺寸650x488
地震仪还不如房上挂腊肉!教科书骗了我们吗?
图片尺寸400x300
候风地动仪复原设计图. (资料图片)
图片尺寸300x336
一种浅层地震勘探震源仪的制作方法
图片尺寸937x1000
地震仪
图片尺寸831x557