垫江吴爪二

垫江吴爪二 垫江人寿保险
图片尺寸640x480
垫江吴爪二 垫江人寿保险
图片尺寸500x333
文成二源惊现连串爪印 疑似大中型猫科动物所留
图片尺寸300x432
垫江吴爪二 垫江人寿保险
图片尺寸450x239
插手交通营运市场 重庆垫江"黑老大"获刑20年
图片尺寸500x334
(供稿 县域经济列表 三吴大地泰州 移动版)泰州兴化戴南镇荣膺"兴化市
图片尺寸554x738
垫江党员在甬安家
图片尺寸500x338
城固县
图片尺寸640x709
垫江吴爪二 垫江人寿保险
图片尺寸600x371
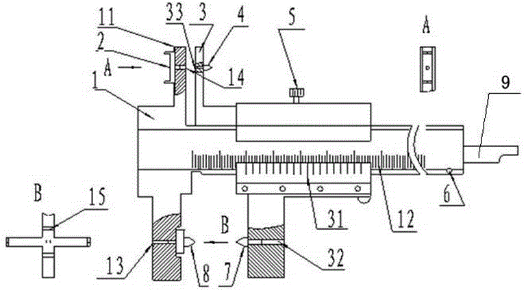
设置在主尺上端的一对内测量爪和设置在主尺下端的一对外测量爪构成
图片尺寸768x424
张丫吴爪
图片尺寸640x480
陕西省汉中市汉台区东关正街靠近陕西理工大学-雷家巷小学_张丫吴爪
图片尺寸1440x1080![am9:26:23 [大笑][大笑][玫瑰][玫瑰][玫瑰][okay][okay] 张丫吴爪](https://i.ecywang.com/upload/1/img1.baidu.com/it/u=1038100490,1100002252&fm=253&fmt=auto&app=138&f=JPEG?w=890&h=500)
am9:26:23 [大笑][大笑][玫瑰][玫瑰][玫瑰][okay][okay] 张丫吴爪
图片尺寸1285x722