堆肥箱设计图

一种家庭厨余垃圾蚯蚓堆肥箱的制作方法
图片尺寸811x1000
果攸堆肥桶厨余桶蚯蚓粪肥蚯蚓堆肥桶蚯蚓发酵堆肥箱蚯蚓养殖箱杏色
图片尺寸990x1486
一种厨余垃圾堆肥桶
图片尺寸2025x2327
堆肥箱制造技术
图片尺寸913x1000
堆肥箱图纸配置我也有了70
图片尺寸1080x1439
一种农用有机肥堆肥发酵箱的制作方法
图片尺寸1000x912
带通风功能的垃圾堆肥桶
图片尺寸1459x1660
亲居厨余堆肥桶发酵桶垃圾处理堆肥箱家用园艺自制em菌糠沤肥桶
图片尺寸1500x1500
一种适用于中小规模养殖场的粪污堆肥设施的制作方法
图片尺寸1000x993
一种立式多层好氧生物堆肥装置
图片尺寸955x1000
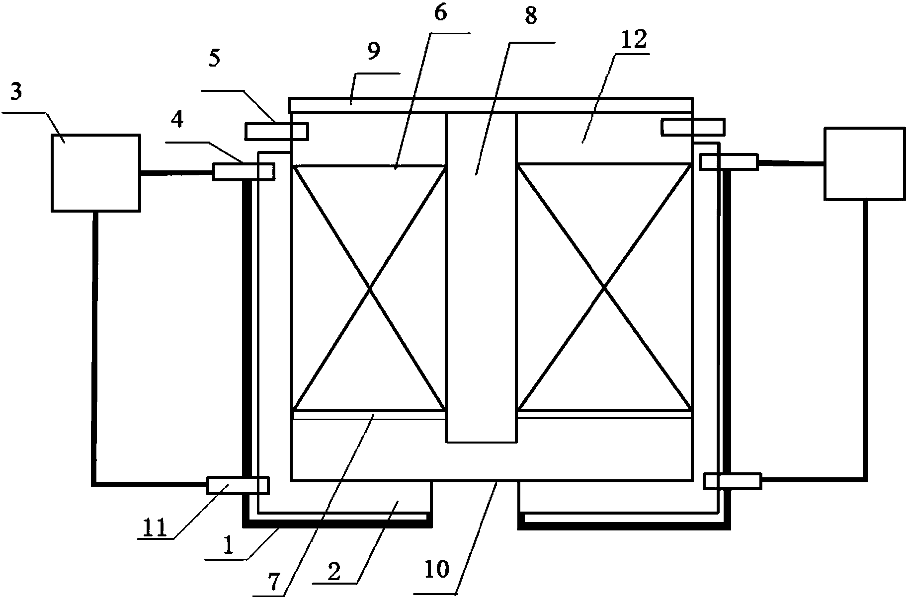
一种自通风的堆肥装置
图片尺寸1825x1202
一种高效肥料生产用堆肥发酵装置的制作方法
图片尺寸808x1000
一种自通风的堆肥装置的制作方法
图片尺寸1000x661
变废为宝11个庭院堆肥箱设计方法超赞
图片尺寸600x303
堆肥桶 堆肥桶花园庭院落叶肥料发酵垃圾堆肥三明治堆肥塑料堆肥箱300
图片尺寸750x750
一种蚯蚓连续堆肥系统及连续堆肥方法与流程
图片尺寸1000x787
变废为宝11个超赞的庭院堆肥箱设计方法
图片尺寸600x450
自制堆肥箱 高温/波卡西 - 手把手制作教程
图片尺寸1080x1080
变废为宝11个庭院堆肥箱设计方法超赞
图片尺寸600x450
11个非常有创意的堆肥箱,用家里废弃的木板和塑料桶就能制作
图片尺寸550x979