塑封机结构

新型铅内加热ptc发热塑封机的制作方法
图片尺寸1000x572
fr-770型铝箔塑料薄膜食品袋自动连续封口机袋封合机
图片尺寸750x316
一种塑封机制造技术
图片尺寸1000x833
注塑机ppt
图片尺寸1080x810
永春牌封口机dbf900 红茶封口机 全自动不锈钢连续塑料袋封口机
图片尺寸2018x1240
电动注塑机结构
图片尺寸1200x591
三科助力传统注塑机走向节能环保新时代
图片尺寸710x451
fanuc成型机的一般结构 合模轴 y轴 顶出轴 a轴 计量轴 c轴 射出轴 x
图片尺寸1080x810
塑料盒自动封口机结构图及型号
图片尺寸893x448
注塑机
图片尺寸595x239
该封口机利用气缸完成对广口桶的自动封口切膜,具有结构简单,操作方便
图片尺寸1000x1000
一种切角机构对称设置的底封式塑封机的制作方法
图片尺寸901x1000
塑料杯自动封口机结构图及型号
图片尺寸893x470
注塑机结构图
图片尺寸697x366
注塞式注塑机结构图
图片尺寸554x337
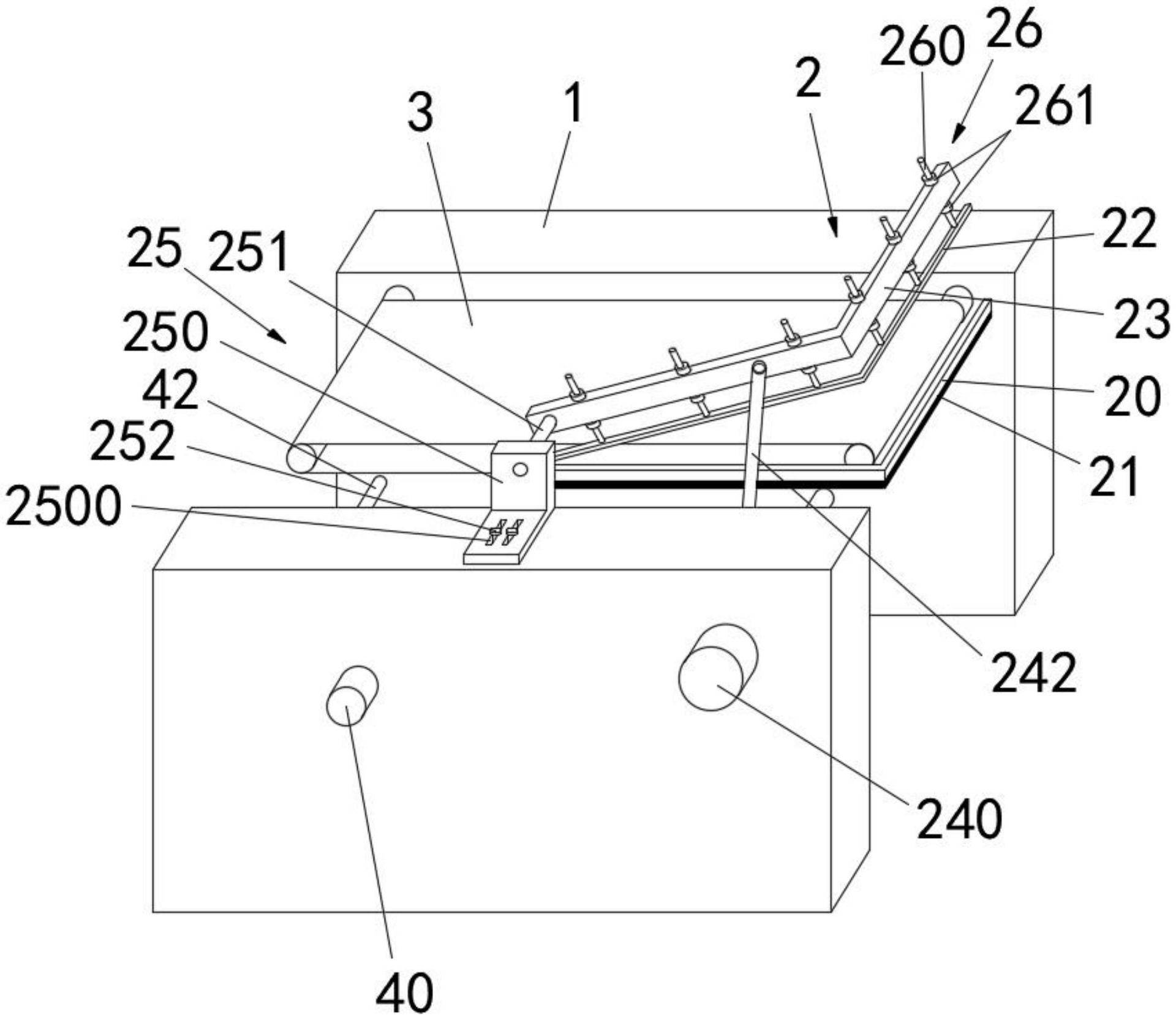
一种塑封机的封切结构-爱企查
图片尺寸1920x1665
自动封箱机结构图
图片尺寸750x715
注塑机的结构组成ppt
图片尺寸1080x810
第二章 m型机合模结构 移动模板 半螺母 ls注塑机的结构特点 拉杆
图片尺寸1080x810
注塑成型机分解
图片尺寸575x258