塞规设计图纸

塞规pdf
图片尺寸800x568
塞规图纸共享给大家
图片尺寸1568x2224
塞规图纸共享给大家
图片尺寸1568x2224
塞规图纸共享给大家
图片尺寸1568x2224
塞规图纸共享给大家
图片尺寸1584x2224
塞规图纸共享给大家
图片尺寸1568x2224
塞规图纸共享给大家
图片尺寸1616x2272
手轮机械加工工艺与夹具设计(含cad图纸和文档)
图片尺寸413x594
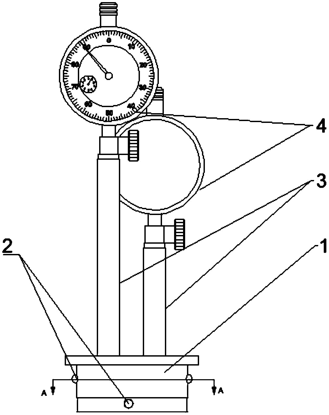
一种带表塞规
图片尺寸875x1695
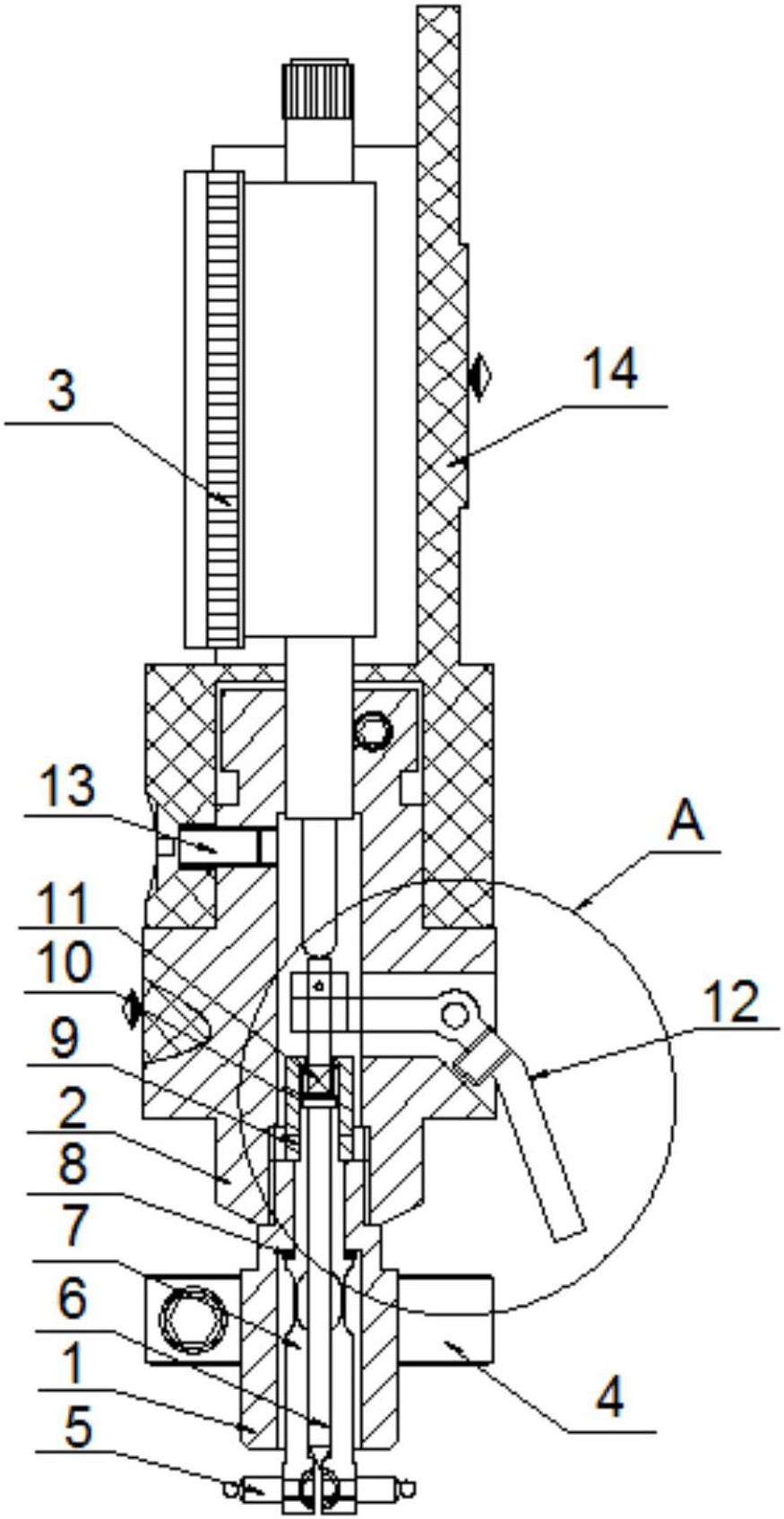
一种簧片式带表塞规的制作方法
图片尺寸550x1000
手轮的工艺及钻8孔夹具工装设计【含cad高清图纸,文档所见所得】
图片尺寸1200x800
成量美标统一螺纹塞规un unef unc 0-6-8-12# tz 2b经销批发
图片尺寸790x829
量具-光滑塞规-a4
图片尺寸810x560
连杆检具塞规下载(58.85k,dwg格式) 机械cad图纸
图片尺寸641x457
杠杆臂加工工艺及夹具设计_机械制造课程设计cad图纸及说明书
图片尺寸620x438
成量螺纹塞规2 (4)
图片尺寸859x537
一种测量台阶孔精度的塞规
图片尺寸1251x1577
一种螺纹塞规的制作方法
图片尺寸1000x530
一种测量台阶孔精度的塞规_cn201921591785.9_知雀网
图片尺寸793x1000
塞规cad图纸
图片尺寸820x564