增力机构简图

曲柄增力机构仿真
图片尺寸416x417
康明斯6bt发电机增压器的使用要点
图片尺寸600x375
增力机
图片尺寸1745x1547
cn101850897a_立缸式组合增力装置失效
图片尺寸1646x1685
一种曲臂连杆增力机构的制作方法
图片尺寸1000x945
行程可调的多杆增力传动机构及其调整方法-爱企查
图片尺寸371x606
图8 基于气动肌腱与对称性铰杆二次增力机构的气动夹具工作原理:如图8
图片尺寸510x592
夹具中所用的两种连杆增力机构如图所示已知推力f1作用于a点夹紧平衡
图片尺寸497x237
cn102536434a_具有涡轮的分开涡轮壳体和环形旋转旁通
图片尺寸2354x1709
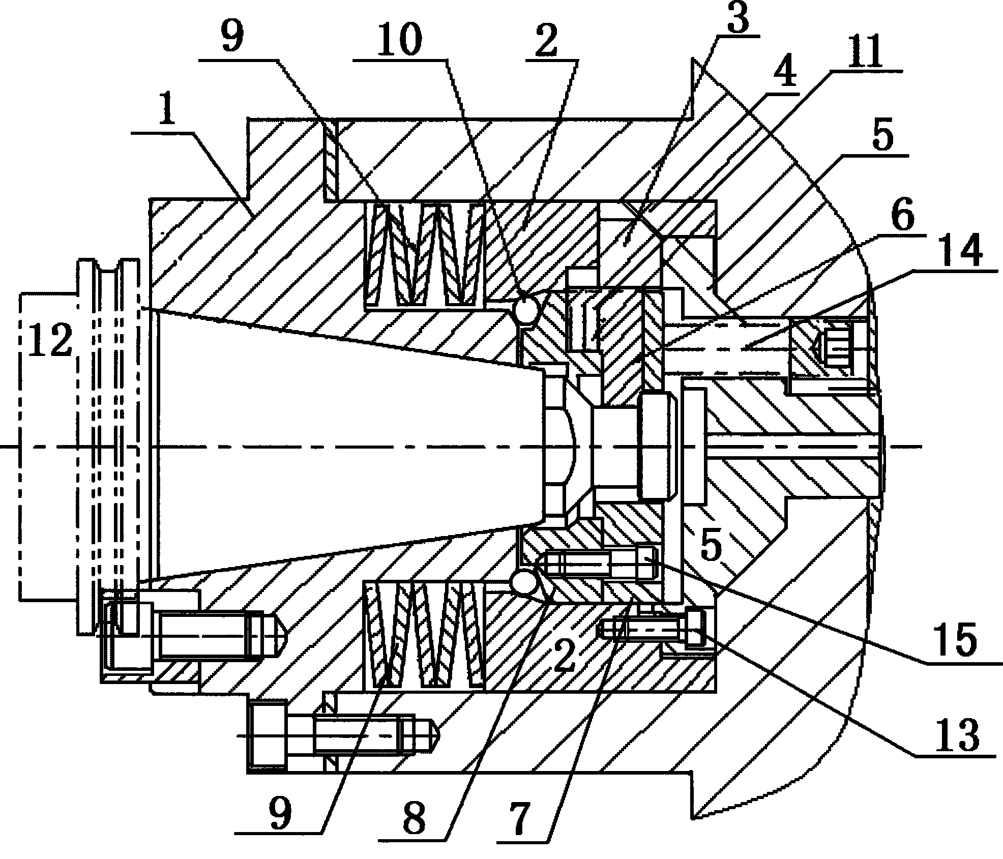
cn201988935u_钢球增力机构失效
图片尺寸1972x1689
本实用新型提供一种增力压合装置,包括连杆机构,支撑机构,压头,产品
图片尺寸1000x992
包装机增力机构组成图
图片尺寸270x385
一种带甩油槽结构的涡轮增压器制造技术
图片尺寸1000x862
自锁与增力机构ppt
图片尺寸1080x810
摆杆1受拉,推杆受弯曲例3 如图3所示是一种结构对称的增力机构
图片尺寸532x448
杠杆增力装置及压榨机
图片尺寸1580x2218
一种增力输出的气动冲压机构
图片尺寸896x1000
了解柴油机结构组成,维护管理发电机组得心应手(二)
图片尺寸540x271
下列主要受力形式分析中正确的是
图片尺寸328x231
一种弯管机管材三爪夹持增力机构
图片尺寸360x269