增速箱设计

增速器装配图a0图纸.dwg
图片尺寸1200x800
cn201747913u_风力发电机组增速齿轮箱有效
图片尺寸2086x2003
cn1069797a_节油增速器失效
图片尺寸2400x1872
风力发电机柔性增速箱
图片尺寸2121x2203
二级直齿轮减速增速箱设计二三维模型图纸.
图片尺寸1280x904
一种大功率两级行星增速箱-爱企查
图片尺寸1626x1064
风力发电机增速齿轮箱解剖展示模型
图片尺寸1196x740
5mw风电齿轮增速箱设计 (一级行星轮系)【cad高清图纸和说明书全套】
图片尺寸1200x800
一种水轮发电机组用增速齿轮箱-爱企查
图片尺寸568x416
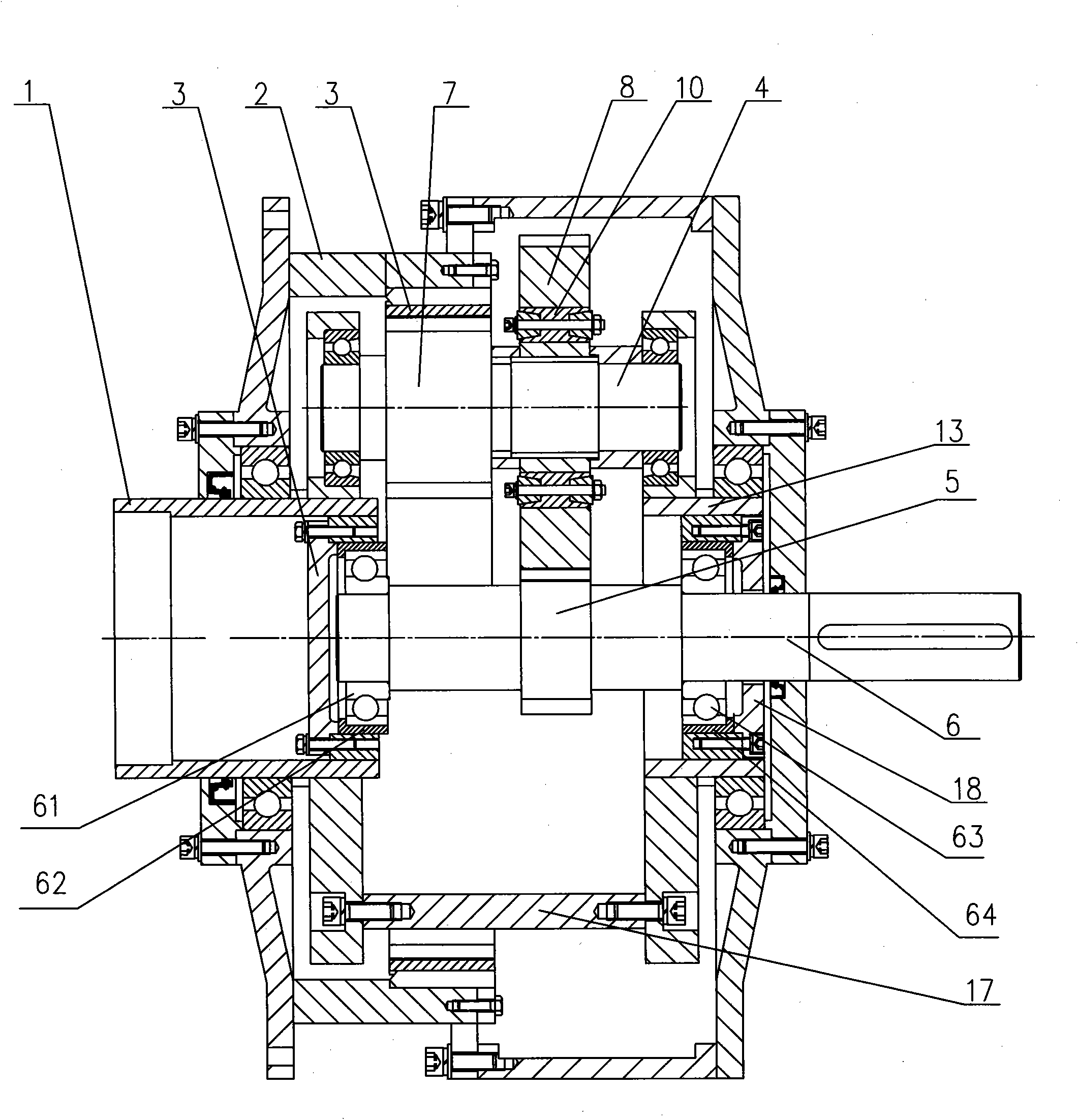
cn202040282u_大功率风力发电机用增速齿轮箱有效
图片尺寸800x996
二氧化碳压缩机增速箱照片
图片尺寸2304x1728
风力发电机用增速齿轮箱
图片尺寸1863x1948
增速齿轮箱结构原理pdf
图片尺寸860x645
cn201763545u_大功率风力发电增速齿轮箱失效
图片尺寸1966x1553
兆瓦级多分流风电增速箱
图片尺寸1871x2000
风力发电增速齿轮箱设计原创含proe三维及7张cad图
图片尺寸803x555
一种风电齿轮增速箱
图片尺寸535x488
一种用于风力发电机的增速箱
图片尺寸968x1000
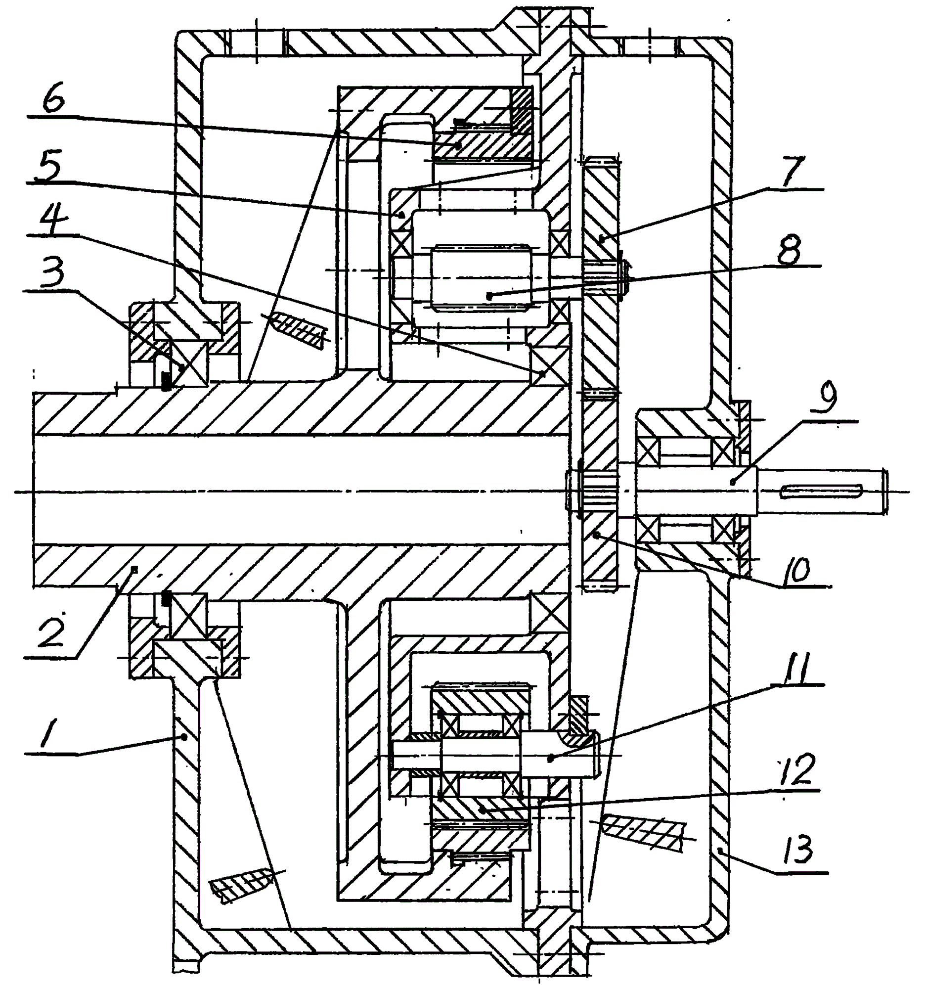
cn202152837u_一种液压增速齿轮箱有效
图片尺寸1710x1056
微型增速箱
图片尺寸1083x878