墨水屏手绘

水墨画 素色 简约 手机壁纸 竖屏 唯美
图片尺寸400x800
墨水屏手机壁纸分享第一弹~感受墨水屏独特美感. - 知乎
图片尺寸1280x2276
科大讯飞智能办公本103英寸墨水屏智能笔记本语音转文字顺丰发货
图片尺寸640x480
羊毛你薅到了吗说说第一次领取海信a5墨水屏手机打卡返现送壁纸
图片尺寸720x1440
360_640竖版 竖屏
图片尺寸360x640
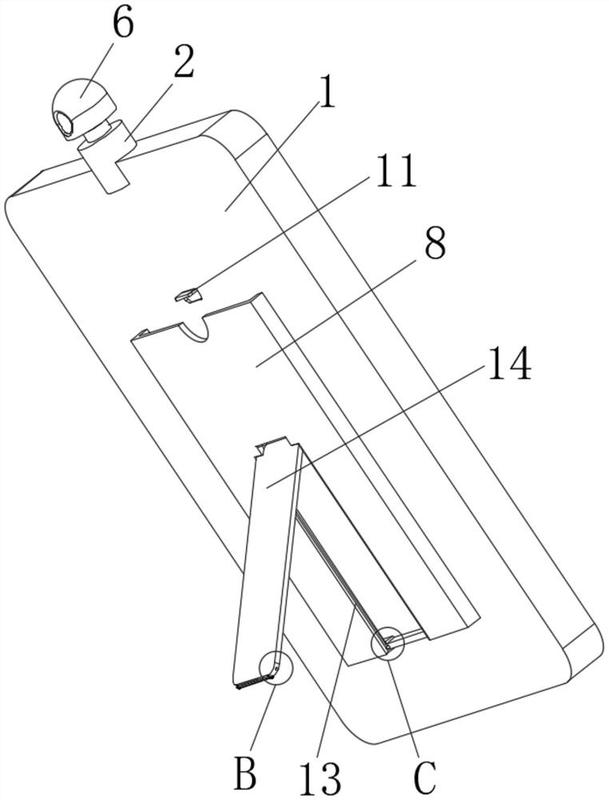
一种应用于电子门牌的墨水屏的制作方法
图片尺寸585x1000
博阅marsvs文石nova两款78寸墨水屏实测
图片尺寸715x783
手绘墨水背景图片
图片尺寸1024x345
还是喜欢用墨水屏画画油然而生的幸福感
图片尺寸1080x1192
适合墨水屏的壁纸
图片尺寸8000x4500
华为墨水屏初拥感受
图片尺寸1080x1375
640_946竖版 竖屏
图片尺寸640x946
墨水屏
图片尺寸392x696
jdread26英寸墨水屏电子书阅读器黑色32gb
图片尺寸250x250
3英寸eink彩色墨水屏 购买 bigme b1 大我 bigme 大我笔记本 bigme
图片尺寸790x1161
一种用于电子学生证显示的墨水屏-爱企查
图片尺寸609x800
大蓄适用于海信(hisense)touch墨水屏音乐阅读器5.
图片尺寸774x621
大蓄适用于墨案 迷你阅inkpalm 5 墨水屏5.
图片尺寸749x702
可以批注的墨水屏
图片尺寸1080x1080
ireader ocean3墨水屏防蓝光软钢化保护膜高清防指纹防反光手绘类纸膜
图片尺寸800x800