复进机原理图

大家讨论的焦点,今天就带大家一起来深度了解一下它的构造和工作原理
图片尺寸900x504
cn209820258u_一种双压缩液体气压式复进机有效
图片尺寸1000x561
文章内容 >> 单片机复位 c51单片机复位电路的工作原理答:51单片机
图片尺寸611x453
图4.28所示为一种活门式制退复进机.
图片尺寸450x655
一种可压缩液体式驻退复进机
图片尺寸2152x1244
而示意图又包括结构示意图,工作原理图(或流程图),系统方框图,计算机
图片尺寸640x320
四款复读机电路
图片尺寸2000x1538
这是增加一级低放后的68-1来复再生式二管晶体管收音机原理图.
图片尺寸1214x844
图片信息
图片尺寸670x670
核电站都有哪些设备?
图片尺寸720x454
一种复卷机的制作方法
图片尺寸1000x734
steam scalding tunnel在浸烫和剥皮前,对猪屠体进行清洗的机器
图片尺寸700x410
求解答!设计一个小车往复运动的主电路,控制电路
图片尺寸600x453
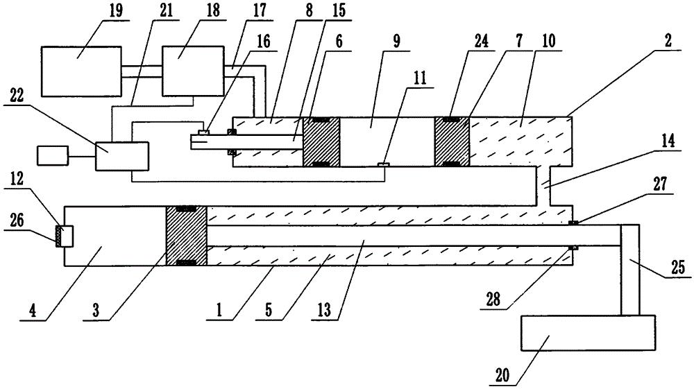
一种基于检测弹的火炮复进机液量检测方法及装置
图片尺寸1491x862
1 直流电机的基本工作原理和结构 3.1.
图片尺寸1080x810
将炮身向前复进到原位,以及缓冲吸收复进能量(防止复进太快太猛撞坏
图片尺寸573x531
tzh2系列三相复励同步发电机原理图
图片尺寸551x457
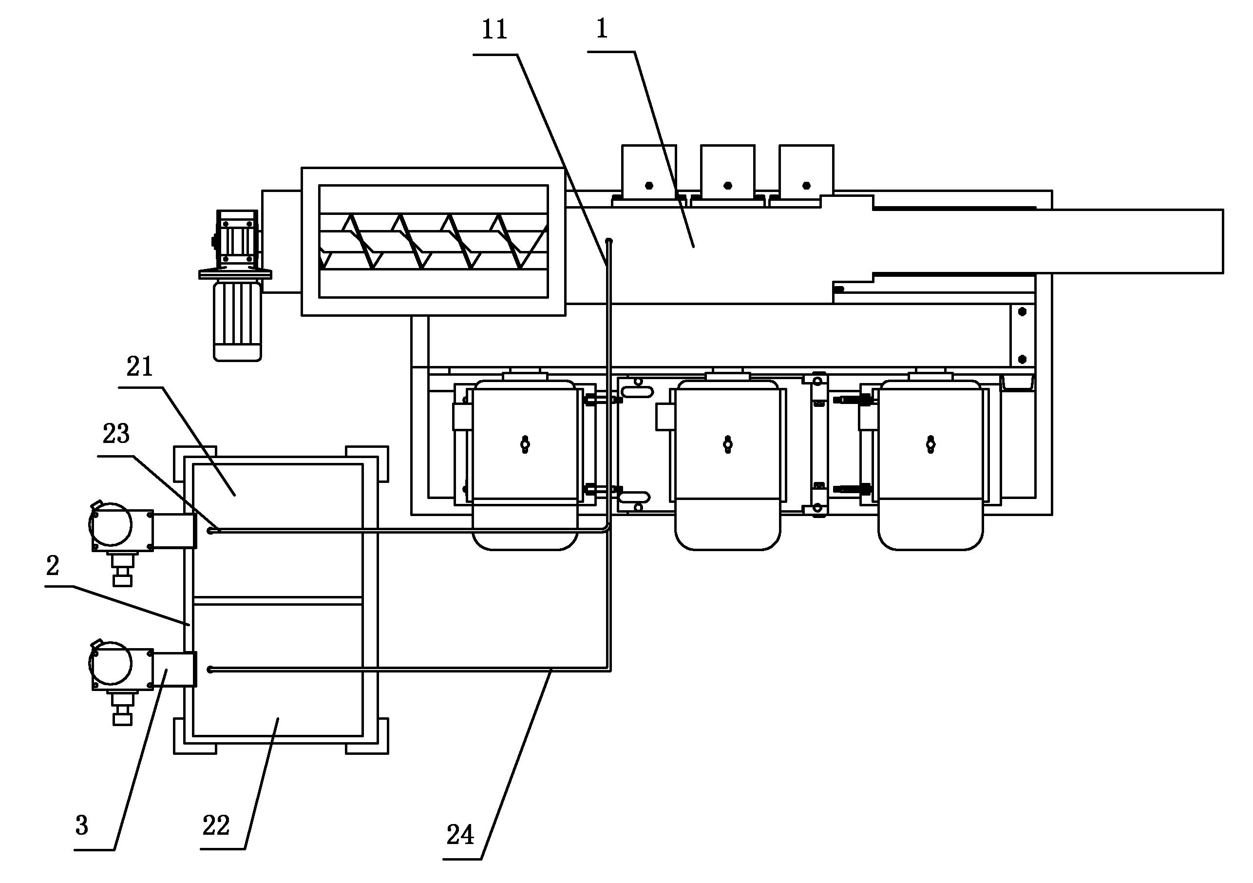
一种可连续加料的复混机-爱企查
图片尺寸2572x1812
三个筒之间的空间内灌注复进机液,但最外一个筒不灌满,留一部分空气.
图片尺寸640x669
复励直流电机
图片尺寸450x304