夏海深法人

中国_夏海钧_相关
图片尺寸961x754
湾财人物周报|李想内部信吐真言;揭秘深圳亿元资产家庭_搜狐汽车_搜狐
图片尺寸800x4019
cover
图片尺寸1080x720
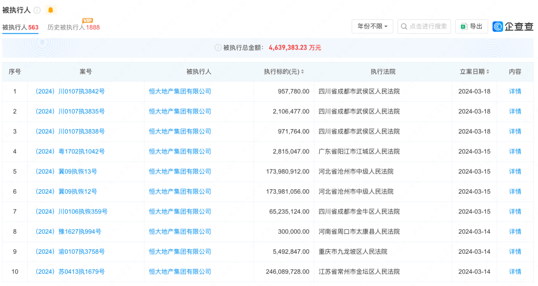
75亿元#深交所官网18日消息,恒大地产集团有限公司发布关于收到中国
图片尺寸690x723
但是最关键要害的是,项目子公司名义上是负责运行当地项目的独立法人
图片尺寸600x378
天生魔种废材王妃要翻天
图片尺寸300x400
对恒大及许家印等的处罚背后|大雷|夏海钧|证监会_网易订阅
图片尺寸576x680
2024新番观察二月篇_角色_演出_什么
图片尺寸1440x1800
油画棒夏海系列
图片尺寸1080x1080![by 深崎暮人 1/6 完成品フィギュア[スカイチューブ]28夏海69简评](https://i.ecywang.com/upload/1/img1.baidu.com/it/u=3349306205,1456147571&fm=253&fmt=auto&app=138&f=JPEG?w=360&h=520)
by 深崎暮人 1/6 完成品フィギュア[スカイチューブ]28夏海69简评
图片尺寸360x520
合创被曝全员卖车;全国房价比峰顶降23%|夏海钧_网易订阅
图片尺寸660x598
75亿元#深交所官网18日消息,恒大地产集团有限公司发布关于收到中国
图片尺寸690x363
中国_夏海钧_相关
图片尺寸1080x576
恒大集团总裁兼法拉第未来集团董事长夏海钧,恒大高科技集团副总裁
图片尺寸850x453
合创被曝全员卖车;全国房价比峰顶降23%|夏海钧_网易订阅
图片尺寸521x836
根据《证券法》《公司信用类债券信息披露管理办法》和《上海证券交易
图片尺寸1080x672![by 深崎暮人 1/6 完成品フィギュア[スカイチューブ]28夏海69简评写](https://i.ecywang.com/upload/1/img0.baidu.com/it/u=3325587680,3379429745&fm=253&fmt=auto&app=138&f=JPEG?w=360&h=520)
by 深崎暮人 1/6 完成品フィギュア[スカイチューブ]28夏海69简评写
图片尺寸360x520
深至夏海
图片尺寸1200x1106
对恒大及许家印等的处罚背后|大雷|夏海钧|证监会_网易订阅
图片尺寸576x423
中国|富贵|夏海钧_网易订阅
图片尺寸640x1391