外卖箱结构

一种外卖箱制造技术
图片尺寸973x1000
一种可调节防侧翻外卖箱
图片尺寸444x311
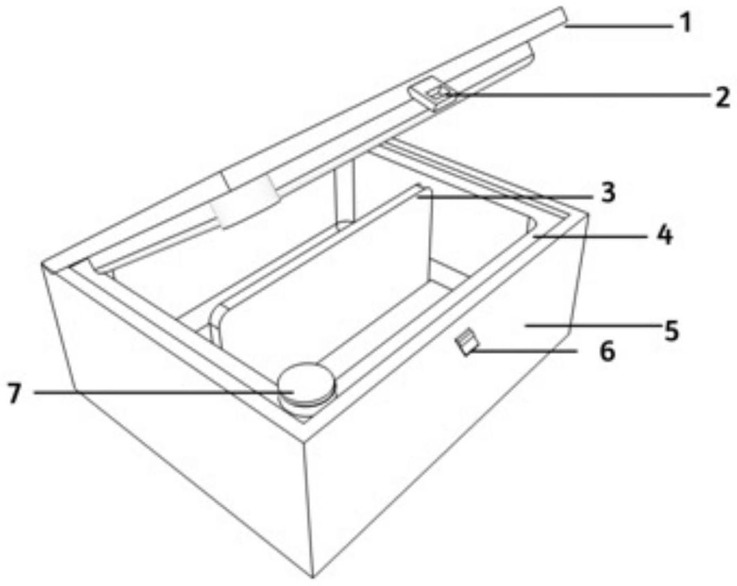
所述保温盒内部为外卖放置区,所述保温盒盒体为空心结构,可容纳保温
图片尺寸1064x846
骑手装备美团外卖箱送餐箱带车载架30升48升62升l保温箱子全套62l套餐
图片尺寸800x850
时度美团外卖箱36/58/43升车载送餐箱保温箱快餐箱外卖包epp泡沫箱
图片尺寸750x1268
bk-05款高性能电瓶车外卖箱送餐箱外卖车尾箱93l后备箱可锁快递箱
图片尺寸670x670
scb外卖箱送餐箱车载冷藏保温箱商用摆摊配送大小号工作骑手装备
图片尺寸790x1100
外卖保温外卖箱
图片尺寸660x660
线性结构图图纸描述外卖保温箱设计模型是采用食品级的环保lldpe材料
图片尺寸496x580
共325 件美团外卖箱大号相关商品
图片尺寸1440x1080
霜魄顺丰同城配送箱顺丰同城永辉生活超市送餐箱社区团购生鲜外卖箱快
图片尺寸350x350
美团外卖箱送餐箱骑手装备大小号车载冷藏配送箱加厚防水保温箱子
图片尺寸750x1103
该外卖包包括第一容纳件和第二容纳件,所述第一容纳件为长方体结构或
图片尺寸1335x1852
美团外卖箱骑手装备保温箱送餐箱升级带锁扣加厚众包专送大小号箱
图片尺寸300x300
外卖箱超大汽车载食品保温箱快餐外卖送餐箱保温周转箱
图片尺寸1920x1440
59l披萨外送保温箱 送餐箱子 盒饭外送车载保温箱 分层外卖箱子
图片尺寸620x411
时度美团外卖箱36/58/43升车载送餐箱保温箱快餐箱外卖包epp泡沫箱
图片尺寸620x834
美团团外卖保温箱餐箱大小号加厚20箱箱送骑手冬季装备套箱子众包保温
图片尺寸790x1108
骑手外卖保温箱送餐加热装备饿了美团箱子汉堡冰包
图片尺寸800x800
定制美团43/58/30升外卖箱送餐箱保温箱车载肩背便携户外牛津布
图片尺寸790x1368