大地子午面

子午面
图片尺寸288x220
设椭球面上p点的大地经度l,在此子午面上以椭圆 中心o为原点建立地心
图片尺寸1080x810
什么叫子午面
图片尺寸527x413
定义:过某点的子午面与本初子午面的夹角.
图片尺寸334x324
空间大地测量理论基础 第二章,时间系统和坐标系统 z 起始子午面 s m
图片尺寸1080x810
的自转轴所在的面与参考椭球的起始子午面的夹角;大地高是空间点沿
图片尺寸365x262
经度:某地的子午面与
图片尺寸640x318
1-空间大地测量学-绪论(1,2,3)ppt
图片尺寸1080x810
大地坐标系的建立ppt
图片尺寸1080x810
z轴指向参考椭球的北极,x轴指向首子午面与赤道的交点,y轴位于赤道面
图片尺寸545x319
让gis三维可视化变得简单-地理坐标系统
图片尺寸1080x757
5所示,地面上的点p地的大地子午面nps与起始大地子午面所构成的二面角
图片尺寸644x567
子午面直角坐标系 设p点的大地经度为l,在过p点的子午面上, 以子午圈
图片尺寸1080x810
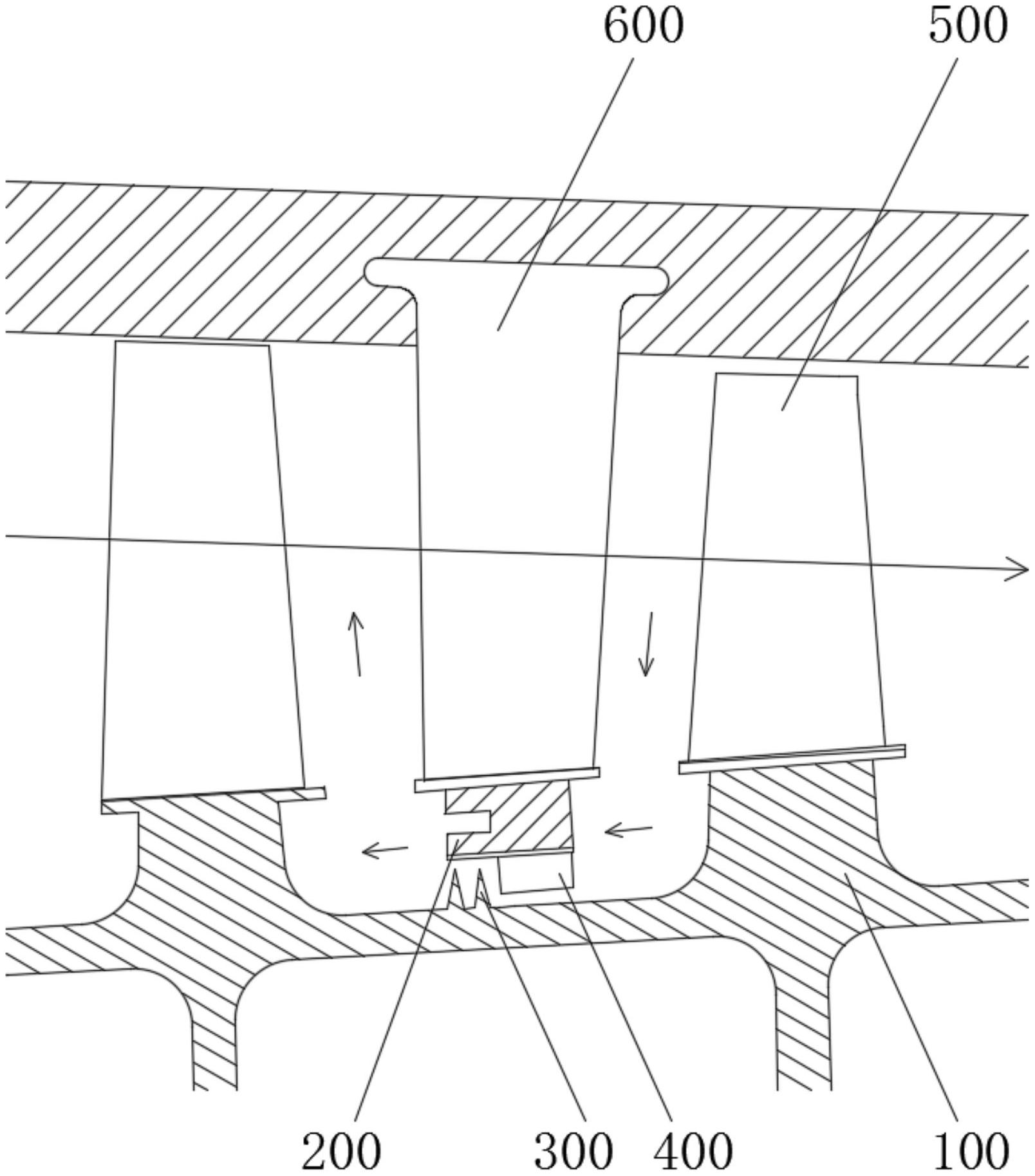
轴流压气机封严装置,轴流压气机及燃气轮机
图片尺寸1608x1828
高一地理 经线及经度 经度的概念: 经度的概念: 该地子午线和本初子午
图片尺寸1080x810
子午面
图片尺寸752x501
子午面与地球椭球面的交线,称为子午线或经线.
图片尺寸300x337
基本规定: 基本规定: 旋转轴 子午面,子午圈, 子午面,子午圈,垂直 圈
图片尺寸1080x810
满足的2个平行条件: ⑴椭球短轴 // 地球自转轴 ⑵大地起始子午面
图片尺寸1080x810
p>子午细光束像点在 a target="_blank" href="/item/主光线">主光线
图片尺寸867x354