夹套的设计

一种减水剂反应釜的夹套结构
图片尺寸1755x1848
压力容器夹套的常见结构型式-设计-胡伟明
图片尺寸495x607
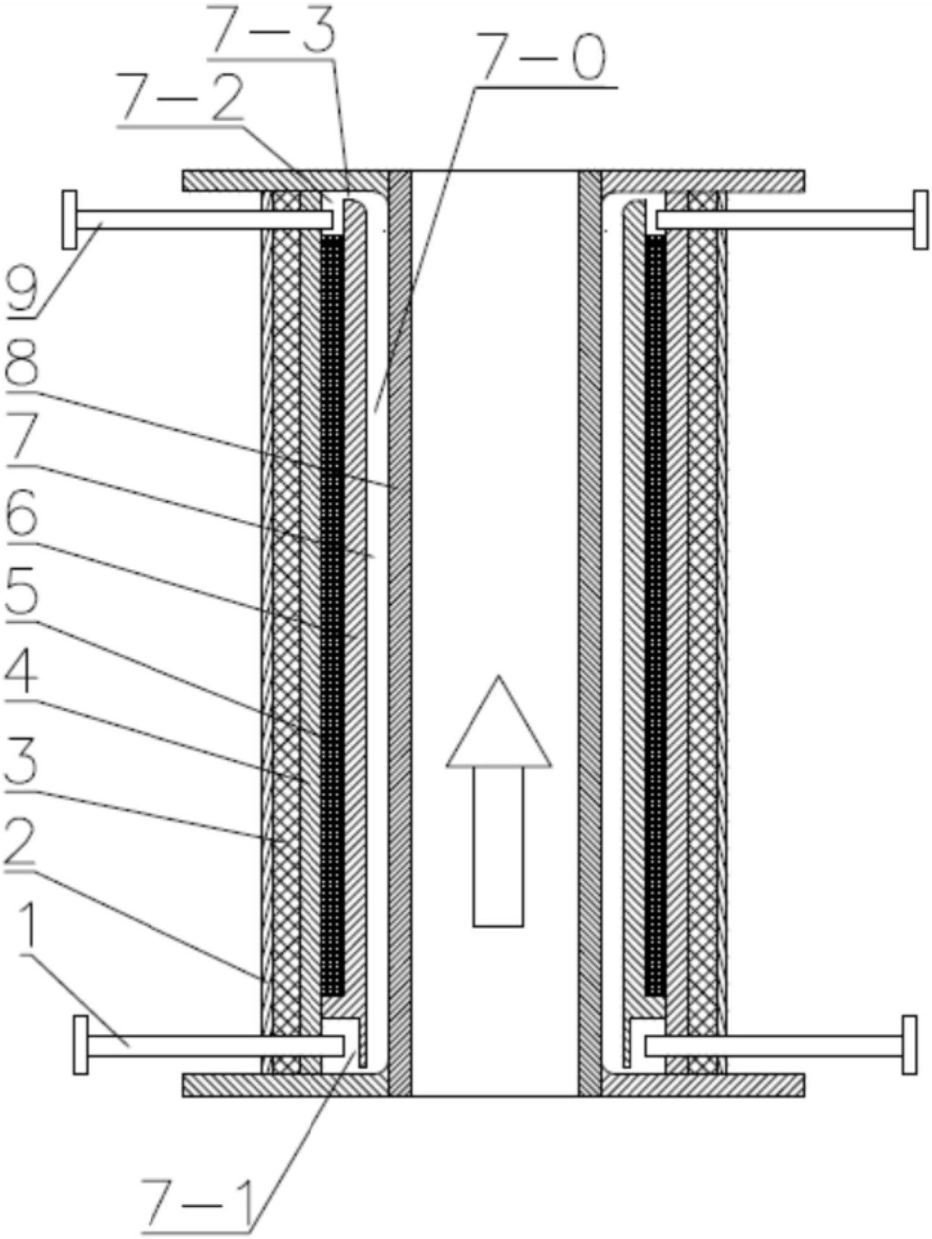
cn112871107a_一种带有射流器的反应釜传热夹套在审
图片尺寸1851x1143
夹套反应釜图
图片尺寸820x1144
6款国标板牙夹套设计
图片尺寸820x602
铣床夹具设计实例
图片尺寸816x1261
半圆管夹套容器设计计算方法
图片尺寸744x378
均流水夹套荒煤气余热回收装置-爱企查
图片尺寸1305x1735![[讨论帖] 半管夹套容器](https://i.ecywang.com/upload/1/img0.baidu.com/it/u=1761961339,2269569844&fm=253&fmt=auto&app=138&f=JPEG?w=500&h=621)
[讨论帖] 半管夹套容器
图片尺寸967x1201
cn2175343y_夹套式管道接头失效
图片尺寸2560x1504
6款国标板牙夹套设计
图片尺寸820x596
常用机床夹具设计
图片尺寸2592x1936
涨套夹套精密定位夹具及气密检测
图片尺寸518x503
cn101820703a_电极接杆夹套失效
图片尺寸1368x1223
cn2883876y_液体沥青软管处的保温夹套失效
图片尺寸800x595
6款国标板牙夹套设计
图片尺寸820x573
变速箱的零部件里有许多是回转体,中心有内孔,设计过程中都是以内孔为
图片尺寸510x274
一种带有射流器的反应釜传热夹套
图片尺寸1000x617
一种夹套法兰-爱企查
图片尺寸1531x1014
一种低压力夹套法兰-爱企查
图片尺寸800x756