夹持固定装置

夹持器机械夹结构图用以按固定程序抓娶搬运物件或操作工具的自动操作
图片尺寸728x745
提供一种用于棒状物料夹持的机械手夹持器,在安装座上平面固定有导向
图片尺寸1780x1793
本实用新型涉及一种用于搪锡机器人的通用夹持装置,采用双螺钉固定在
图片尺寸1832x959
2.本外观设计产品的用途:一种机械装置,主要用来夹持,固定工件.
图片尺寸990x646
实用新型提供了一种圆柱饼铝模具的夹持装置,包括:安装座,抓爪固定座
图片尺寸1262x1265
一种金属薄板压缩的夹持固定装置
图片尺寸1000x843
p>方座支架是一种在实验室用来固定仪器的夹持装置. /p>
图片尺寸600x450
现有的厂家大都利用夹具将空心圆钢夹持固定并利用打磨装置来打磨空心
图片尺寸443x308
字夹固定大理石强力木工型夹夹角4寸6寸7寸g
图片尺寸800x800
一种头部手术可变式夹持装置制造方法及图纸
图片尺寸1000x855
一种二极管管座加工用夹持装置
图片尺寸1685x1560
一种机械加工用的夹持装置
图片尺寸1000x908
一种夹持装置
图片尺寸1637x1644
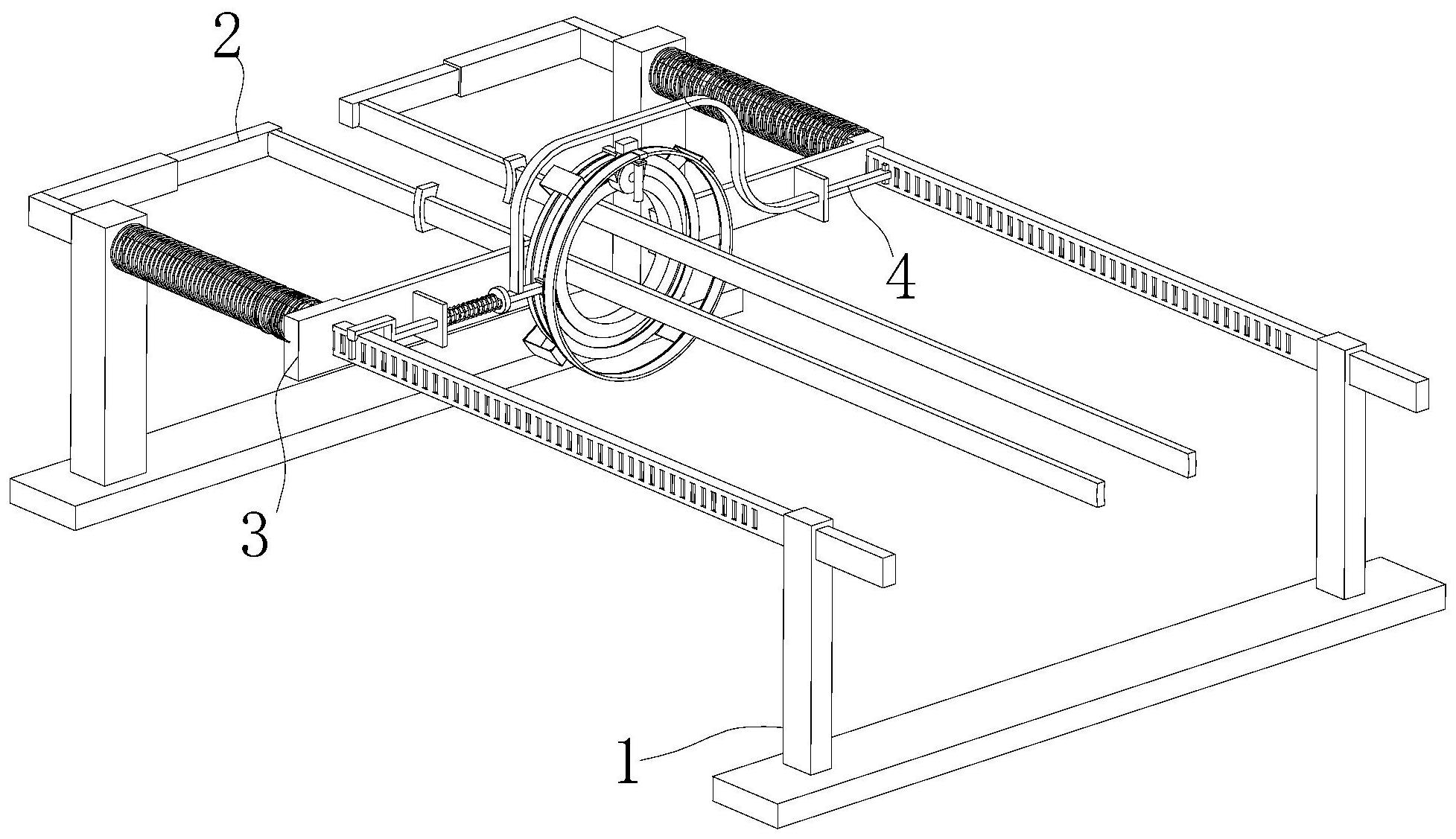
该焊接管道探伤夹持装置,包括支撑机构,所述支撑机构的内侧后端固定
图片尺寸1955x1127
cn208443741u_灭菌指示剂的夹持固定装置有效
图片尺寸1746x1211
一种智能制造机电设备用夹持固定装置
图片尺寸1859x775
一种自适应料盘夹持装置
图片尺寸1809x1479
一种用于固定电梯钢丝绳的夹持装置的制作方法
图片尺寸970x1000
一种数控铣床加工用的工件夹持固定装置的制作方法
图片尺寸975x1000
一种夹持装置
图片尺寸444x391