娃娃机结构

神奇推手礼品娃娃机
图片尺寸600x500
娃娃机的结构 来源丨见水印
图片尺寸500x334
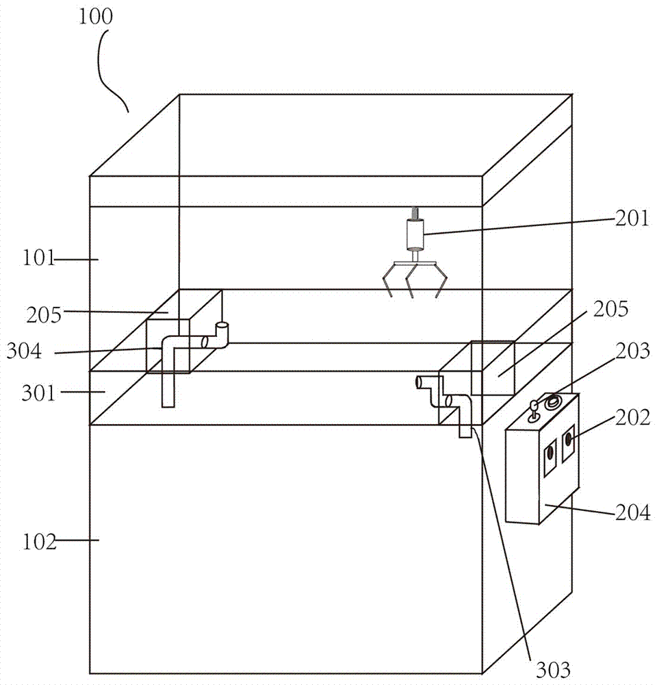
一种娃娃机的制作方法
图片尺寸1000x962
一种具有缓冲结构的娃娃机-爱企查
图片尺寸1337x1311
2019热销心形娃娃机礼品机源头供应大型投币熊抓娃娃机售币一体机
图片尺寸750x750
cn207126102u_一种基于视频控制的夹娃娃机有效
图片尺寸1227x1779
公仔娃娃机抓娃娃机厂家批发报价
图片尺寸790x714
j571-夹娃娃机机械结构设计cad图
图片尺寸386x409
一种可自由拆卸拼装的抓娃娃机的制作方法
图片尺寸963x1000
一种娃娃机
图片尺寸1000x961
蓝色精灵娃娃机
图片尺寸750x554
一种娃娃机的制作方法
图片尺寸458x1000
抓娃娃机的制作方法
图片尺寸454x679
一种能抓取海鲜的娃娃机的制作方法
图片尺寸960x1000
一种基于视频控制的夹娃娃机的制作方法
图片尺寸1000x975
娃娃机的秘密你为什么总是抓不到娃娃
图片尺寸550x584
欢乐海豚娃娃机多少钱
图片尺寸1200x1585
抓娃娃机的制作方法
图片尺寸873x1000
蓝色妖姬娃娃机
图片尺寸722x859
cn208176922u_一种能抓取海鲜的娃娃机有效
图片尺寸960x1000