安全绳简笔画

保险绳安全绳图片_简笔画图片_少儿图库_儿童资源网
图片尺寸324x243
一种建筑用高空防坠安全绳的制作方法
图片尺寸932x1000
一种安全绳
图片尺寸802x1350
安全绳插画
图片尺寸612x408
安全绳简笔画图片大全 安全绳怎么画 儿童安全绳简笔画的画法 亲子简
图片尺寸499x346
一种安全登高作业装置-爱企查
图片尺寸943x641
保险绳安全绳图片_简笔画图片_少儿图库_儿童资源网
图片尺寸324x243
其包括挂钩,安全绳和用于穿戴于人体的人体马甲,还包括控制装置,所述
图片尺寸693x800
一种户外攀爬防护用安全绳-爱企查
图片尺寸692x799
一种高空作业用安全绳-爱企查
图片尺寸412x800
绳子简笔画图解
图片尺寸500x578
安全绳
图片尺寸1808x1110
彩色tpu工具安全防失手弹簧钢丝绳 包胶钢丝绳定制加工
图片尺寸790x728
安全消防救生装置及其产品制造技术
图片尺寸502x515
其挂在系于人腰间的安全带上;挂绳上端连有一带滑轮的环形挂环,安全绳
图片尺寸360x234
一种高空作业安全绳的制作方法
图片尺寸500x412
一种轨道检修人员安全防护带组件-爱企查
图片尺寸260x242
肩部部分(2b)和背部部分(2c),背部部分包括用于可释放地附接安全绳(7)
图片尺寸1675x2454
登高防坠安全绳
图片尺寸319x360
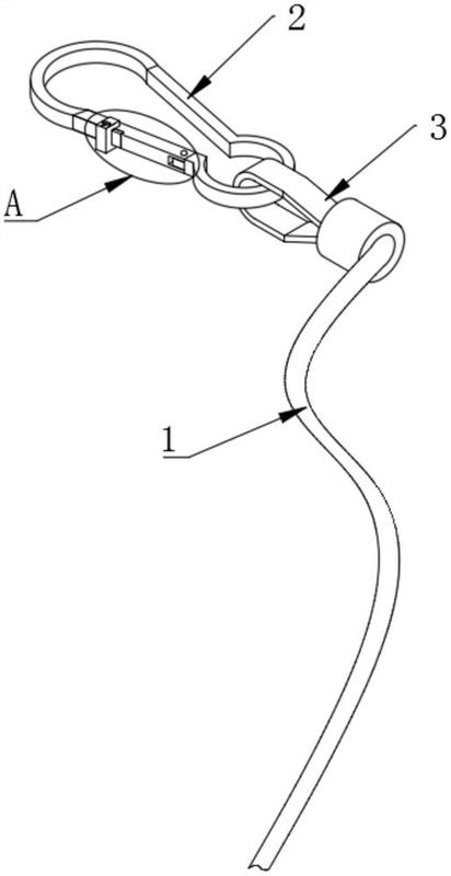
一种防坠用双挂点安全绳-爱企查
图片尺寸709x800